Запчасти Komatsu SL4D130-1C ВОДЯНОЙ КОЛЛЕКТОР И ТЕРМОСТАТ ГОЛОВКА ЦИЛИНДРОВ

Схема запчастей Komatsu SL4D130-1C - ВОДЯНОЙ КОЛЛЕКТОР И ТЕРМОСТАТ ГОЛОВКА ЦИЛИНДРОВ
FIT
1:1
100%

Артикул

Название

Примечание

Количество

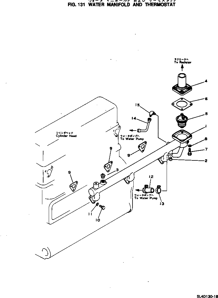
|1

6114-11-6100

WATER MANIFOLD A.

SN: 24260-UP

1шт.

1

6114-11-6110

MANIFOLD

SN: 24260-UP

1шт.

2

02720-10607

PLUG

SN: 24260-UP

1шт.

3

07042-00415

PLUG

SN: 24260-UP

1шт.

4

6114-11-6120

PIPE

SN: 24260-UP

1шт.

5

600-421-6310

THERMOSTAT

SN: 24260-UP

1шт.

6

6114-11-6320

GASKET (K1)

SN: 24260-UP

1шт.

7

01010-30820

BOLT

SN: 24260-UP

4шт.

8

01602-00825

WASHER

SN: 24260-UP

4шт.

9

6110-11-6810

GASKET (K1)

SN: 24260-UP

3шт.

10

01010-30822

BOLT

SN: 24260-UP

9шт.

11

01602-00825

WASHER

SN: 24260-UP

9шт.

12

6112-63-6421

HOSE

SN: 24260-UP

1шт.

13

07281-00419

CLAMP

SN: 24260-UP

2шт.

14

6114-61-1730

PIPE

SN: 24260-UP

1шт.

15

07217-50610

ELBOW

SN: 24260-UP

1шт.

Выбрано товаров: 16