Запчасти Komatsu VT-1710-1 МАСЛ. ФИЛЬТР И ОХЛАДИТЕЛЬ(№7-888) СИСТЕМА СМАЗКИ МАСЛ. СИСТЕМА

Схема запчастей Komatsu VT-1710-1 - МАСЛ. ФИЛЬТР И ОХЛАДИТЕЛЬ(№7-888) СИСТЕМА СМАЗКИ МАСЛ. СИСТЕМА
FIT
1:1
100%

Артикул

Название

Примечание

Количество

|1

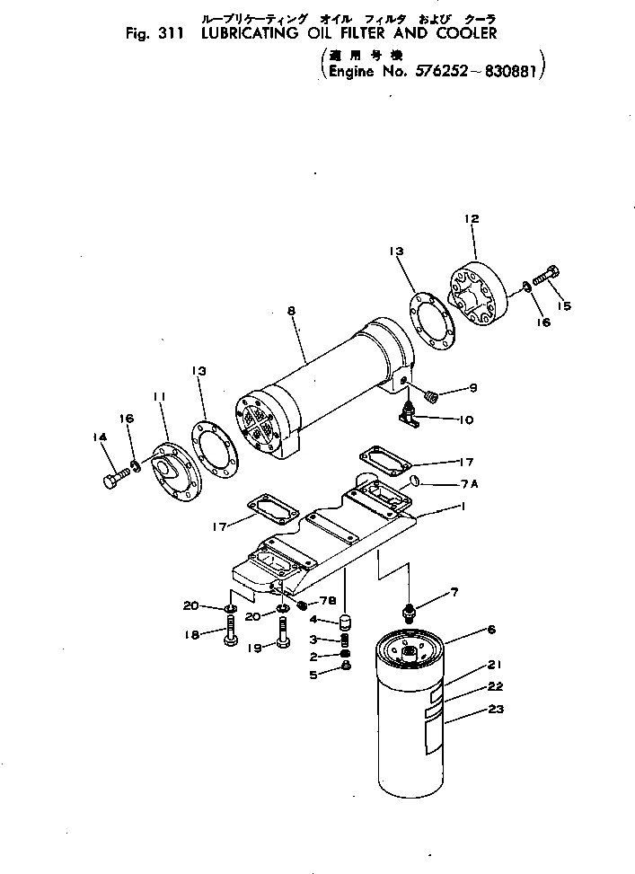
CUAR-12990

OIL FILTER ASS'Y

SN: 576252-@

1шт.

|1

CUAR-12989

HEAD ASS'Y

SN: 576252-@

1шт.

1

CU217067

HEAD

SN: 576252-@

1шт.

2

CU218297

DISC

SN: 576252-@

1шт.

3

CU217069

SPRING

SN: 576252-@

1шт.

4

CU218303

RETAINER

SN: 576252-@

1шт.

5

CU3001483

PLATE,LOCK

SN: 576252-@

3шт.

6

CULF-670

CARTRIDGE

SN: 576252-@

3шт.

7

CU217568

ADAPTER

SN: 576252-@

3шт.

7A

CU204476

PLUG

SN: 576252-@

1шт.

7B

CU3008468

PLUG

SN: 576252-@

1шт.

|8

CUAR-2139

COOLER ASS'Y

SN: 576252-@

1шт.

8

CU3010615

COOLER ASS'Y

SN: 576252-@

1шт.

|8

CU301613

HOUSING

SN: 576252-@

1шт.

|8

CU301612

ELEMENT

SN: 576252-@

1шт.

|8

CU3010617

O-RING

SN: 576252-@

4шт.

9

02720-20204

PLUG

SN: 576252-@

1шт.

10

CUS-923-E

VALVE,DRAIN

SN: 576252-@

1шт.

11

CU180727

COVER

SN: 576252-@

1шт.

12

CU186199

COVER

SN: 576252-@

1шт.

13

CU172723

GASKET (K1)

SN: 576252-@

2шт.

14

CU3012472

BOLT

SN: .-@

7шт.

|14

0

BOLT

SN: 576252-.

7шт.

15

CU3010597

BOLT

SN: .-@

8шт.

|15

0

BOLT

SN: 576252-.

8шт.

16

01602-00929

WASHER,SPRING

SN: 576252-.

15шт.

17

6715-52-5460

GASKET (K1)

SN: 576252-@

2шт.

18

CU205378

BOLT

SN: 576252-830881

4шт.

19

CUS-150

BOLT

SN: 576252-830881

4шт.

20

01602-01338

WASHER,SPRING

SN: 576252-830881

8шт.

21

CU163399

DECAL

SN: 576252-830881

3шт.

22

CU169604

LABEL

SN: 576252-830881

3шт.

23

09645-00120

PLATE¤ INSTRUCTION

SN: 576252-@

3шт.

Выбрано товаров: 33