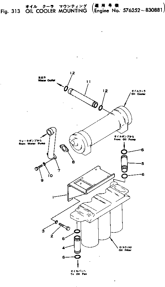
Запчасти Komatsu VT-1710-1 МАСЛООХЛАДИТЕЛЬ КРЕПЛЕНИЕ(№7-888) СИСТЕМА СМАЗКИ МАСЛ. СИСТЕМА

Схема запчастей Komatsu VT-1710-1 - МАСЛООХЛАДИТЕЛЬ КРЕПЛЕНИЕ(№7-888) СИСТЕМА СМАЗКИ МАСЛ. СИСТЕМА
FIT
1:1
100%

Артикул

Название

Примечание

Количество

1

CU3005513

BRACKET

SN: 576252-830881

1шт.

2

02010-20832

BOLT

SN: 576252-@

6шт.

3

01602-01338

WASHER,SPRING

SN: 576252-@

6шт.

4

CU181722

TUBE,OUTLET

SN: 576252-830881

1шт.

5

CU201875

TUBE,INLET

SN: 576252-@

1шт.

6

CU178937

O-RING

SN: 576252-830881

4шт.

7

CU3001480

CONNECTION

SN: 576252-830881

1шт.

8

6715-52-5470

GASKET (K1)

SN: 576252-830881

1шт.

9

CU3002398

BOLT

SN: 576252-830881

2шт.

10

01602-00929

WASHER,SPRING

SN: 576252-830881

2шт.

11

CU191980

TUBE

SN: 576252-@

1шт.

12

CU122981

O-RING

SN: 576252-@

2шт.

Выбрано товаров: 12