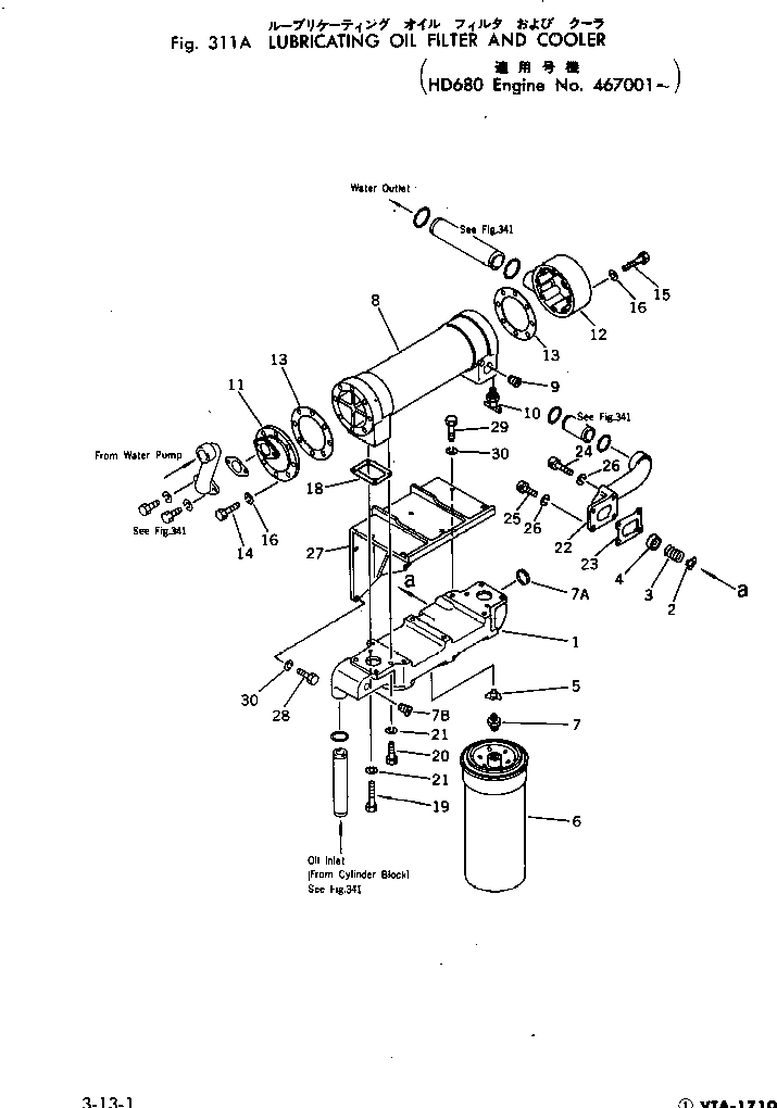
Запчасти Komatsu VTA-1710-1A МАСЛ. ФИЛЬТР И ОХЛАДИТЕЛЬ(№7-) СИСТЕМА СМАЗКИ МАСЛ. СИСТЕМА

Схема запчастей Komatsu VTA-1710-1A - МАСЛ. ФИЛЬТР И ОХЛАДИТЕЛЬ(№7-) СИСТЕМА СМАЗКИ МАСЛ. СИСТЕМА
FIT
1:1
100%

Артикул

Название

Примечание

Количество

|$0

CUAR-12990

OIL FILTER ASS'Y

SN: 467001-UP

1шт.

|$1

CUAR-12989

HEAD ASS'Y

SN: 467001-UP

1шт.

1

CU217067

HEAD

SN: 467001-UP

1шт.

2

CU218297

DISC

SN: 467001-UP

1шт.

3

CU217069

SPRING

SN: 467001-UP

1шт.

4

CU218303

RETAINER

SN: 467001-UP

1шт.

5

CU3001483

PLATE

SN: 467001-UP

3шт.

6

CU299670

CARTRIDGE

SN: 467001-UP

3шт.

7

CU217568

ADAPTER

SN: 467001-UP

3шт.

7A

CU204476

PLUG

SN: 467001-UP

1шт.

7B

CU3008468

PLUG

SN: 467001-UP

1шт.

|$11

CUAR-2139

COOLER ASS'Y

SN: 430077-UP

1шт.

8

CU3010615

COOLER ASS'Y

SN: .-UP

1шт.

8

0

COOLER

SN: 430077-.

1шт.

8A

CU3010612

ELEMENT

SN: .-UP

1шт.

8B

CU3010613

HOUSING

SN: .-UP

1шт.

8C

CU3010617

O-RING

SN: .-UP

4шт.

9

02720-20204

PLUG

SN: 430077-UP

1шт.

10

CUS-923-E

VALVE

SN: 430077-UP

1шт.

11

CU180727

COVER

SN: 430077-UP

1шт.

12

CU186199

COVER

SN: 430077-UP

1шт.

13

CU172723

GASKET

SN: 430077-UP

2шт.

14

02010-20638

BOLT

SN: 430077-UP

7шт.

15

02010-20695

BOLT

SN: 430077-UP

8шт.

16

01602-00929

WASHER

SN: 430077-UP

15шт.

17

CU187657

SPACER,(NOT SHOWN)

SN: 430077-UP

-2шт.

18

CU180730

GASKET

SN: 430077-UP

2шт.

19

CU205378

BOLT

SN: 430077-UP

4шт.

20

CUS-150

BOLT

SN: 430077-UP

4шт.

21

01602-01338

WASHER

SN: 430077-UP

8шт.

22

CU3001480

CONNECTION

SN: 430077-UP

1шт.

23

CU3001562

GASKET

SN: 430077-UP

1шт.

24

CUS-103

BOLT

SN: 430077-UP

2шт.

25

CUS-119

BOLT

SN: 430077-UP

2шт.

26

CUS-605

WASHER

SN: 430077-UP

4шт.

27

CU3005513

BRACKET

SN: 430077-UP

1шт.

28

CUS-145

BOLT

SN: 430077-UP

6шт.

29

CU205378

BOLT

SN: 430077-UP

8шт.

30

CUS-608

WASHER

SN: 430077-UP

14шт.

Выбрано товаров: 39