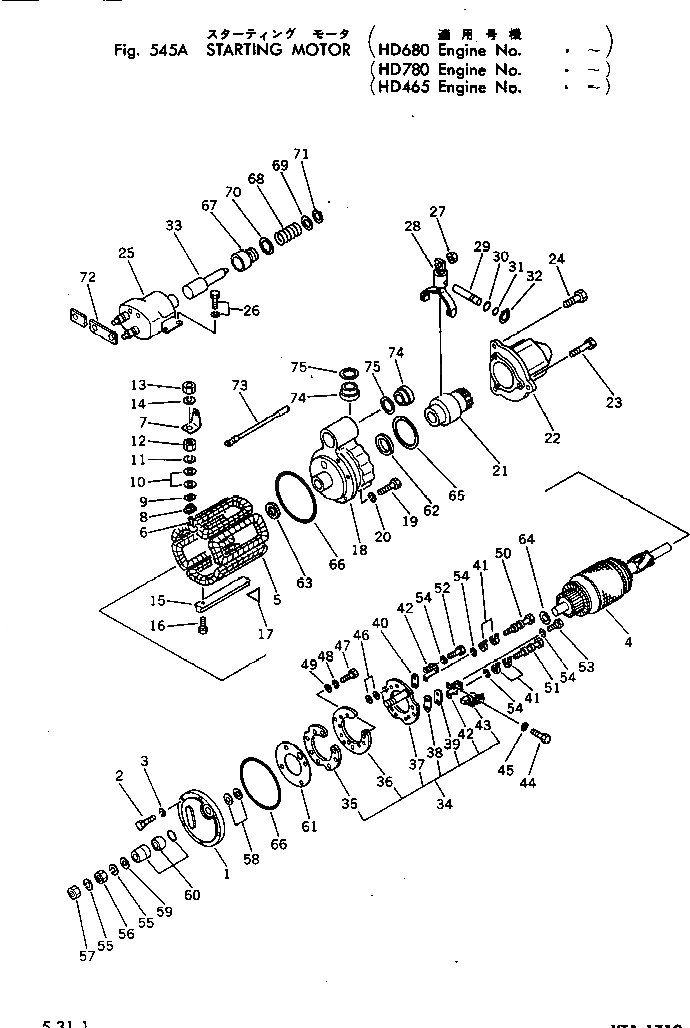
Запчасти Komatsu VTA-1710-1A СТАРТЕР(№.-) ОХЛАЖД-Е И ЭЛЕКТРИКАS

Схема запчастей Komatsu VTA-1710-1A - СТАРТЕР(№.-) ОХЛАЖД-Е И ЭЛЕКТРИКАS
FIT
1:1
100%

Артикул

Название

Примечание

Количество

|1

CU3021038

STARTING MOTOR ASS'Y

SN: .-UP

1шт.

1

CUDR-1945847

FRAME

SN: 430077-UP

1шт.

|1

CUDR-1894638

BUSHING

SN: .-UP

1шт.

|1

CUDR-453694

PLUG

SN: 430077-UP

1шт.

|1

CUDR-9417501

PLUG

SN: 430077-UP

1шт.

|1

CUDR-1955303

PLUG

SN: 430077-UP

1шт.

|1

CUDR-9427882

PLUG

SN: .-UP

1шт.

|1

CUDR-1916439

WICK

SN: 430077-UP

1шт.

2

CUDR-1914869

SCREW

SN: .-UP

6шт.

3

CUDR-9421423

WASHER

SN: .-UP

6шт.

4

CUDR-1945840

ARMATURE

SN: 430077-UP

1шт.

5

CUDR-1945853

FIELD COIL

SN: 430077-UP

1шт.

6

CUDR-1950561

STUD

SN: 430077-UP

1шт.

7

CUDR-1945862

CONNECTOR

SN: .-UP

1шт.

7

CUDR-1965472

BUSHING

SN: .-UP

1шт.

10

CUDR-1922457

WASHER

SN: .-UP

2шт.

11

CUDR-1914647

WASHER

SN: .-UP

1шт.

12

CUDR-9414418

NUT

SN: .-UP

1шт.

13

CUDR-120238

NUT

SN: .-UP

1шт.

14

CUDR-9421427

WASHER

SN: .-UP

1шт.

15

CUDR-1869747

SHOE

SN: .-UP

6шт.

16

CUDR-1968396

SCREW

SN: .-UP

12шт.

17

CUDR-1914873

INSULATOR

SN: .-UP

1шт.

18

CUDR-1945857

HOUSING

SN: 430077-UP

1шт.

|18

CUDR-1984637

BUSHING

SN: .-UP

1шт.

|18

CUDR-9417501

PLUG

SN: .-UP

1шт.

|18

CUDR-1955303

PLUG

SN: .-UP

1шт.

|18

CUDR-9427882

PLUG

SN: .-UP

1шт.

|18

CUDR-1918047

SEAL

SN: .-UP

1шт.

|18

CUDR-1916439

WICK

SN: .-UP

1шт.

19

CUDR-1914869

SCREW

SN: .-UP

6шт.

20

CUDR-9421423

WASHER

SN: .-UP

6шт.

21

CUDR-1894211

DRIVE ASS'Y

SN: .-UP

1шт.

22

CUDR-1949606

HOUSING

SN: 430077-UP

1шт.

|22

CUDR-1894635

BUSHING

SN: .-UP

1шт.

|22

CUDR-9417501

PLUG

SN: 430077-UP

1шт.

|22

CUDR-1955303

PLUG

SN: 430077-UP

1шт.

|22

CUDR-9427882

PLUG

SN: .-UP

1шт.

|22

CUDR-1916439

WICK

SN: 430077-UP

1шт.

23

CUDR-1948536

SCREW

SN: .-UP

3шт.

24

CUDR-1948537

SCREW

SN: .-UP

3шт.

25

CUDR-1119848

SWITCH

SN: 430077-UP

1шт.

26

CUDR-1930611

SCREW

SN: .-UP

4шт.

27

CUDR-9412305

NUT

SN: .-UP

1шт.

28

CUDR-1945484

LEVER

SN: 430077-UP

1шт.

29

CUDR-1948529

SHAFT

SN: .-UP

1шт.

30

CUDR-1894643

O-RING

SN: .-UP

1шт.

31

CUDR-1894642

O-RING

SN: .-UP

1шт.

32

CUDR-9415235

RING

SN: .-UP

1шт.

33

CUDR-1948522

PLUNGER

SN: .-UP

1шт.

34

CUDR-1945849

PLATE ASS'Y

SN: 430077-UP

1шт.

35

CUDR-1869760

SUPPORT

SN: 430077-UP

1шт.

36

CUDR-1945850

INSULATOR

SN: 430077-UP

1шт.

37

CUDR-1945851

PLATE

SN: 430077-UP

1шт.

38

CUDR-1965093

INSULATOR

SN: 430077-UP

3шт.

39

CUDR-1865925

PLATE

SN: 430077-UP

3шт.

40

CUDR-1861781

PLATE

SN: 430077-UP

3шт.

41

CUDR-1861785

SPRING

SN: 430077-UP

12шт.

42

CUDR-1905043

HOLDER

SN: 430077-UP

3шт.

43

CUDR-1906989

BRUSH

SN: 430077-UP

12шт.

44

CUDR-453418

SCREW

SN: .-UP

12шт.

45

CUDR-453844

WASHER

SN: .-UP

12шт.

46

CUDR-1913080

WASHER

SN: .-UP

24шт.

47

CUDR-1847807

SCREW

SN: .-UP

6шт.

48

CUDR-453844

WASHER

SN: .-UP

6шт.

49

CUDR-810794

WASHER

SN: .-UP

6шт.

50

CUDR-1962047

SCREW

SN: .-UP

3шт.

51

CUDR-1962048

SCREW

SN: .-UP

3шт.

52

CUDR-1914580

SCREW

SN: .-UP

3шт.

53

CUDR-1968656

SCREW

SN: .-UP

3шт.

54

CUDR-453435

WASHER

SN: .-UP

12шт.

55

CUDR-9421427

WASHER

SN: 430077-UP

2шт.

56

CUDR-9414418

NUT

SN: 430077-UP

1шт.

57

CUDR-9413509

NUT

SN: .-UP

1шт.

58

CUDR-1861791

WASHER

SN: 430077-UP

1шт.

59

CUDR-1914647

WASHER

SN: 430077-UP

1шт.

60

CUDR-1851632

INSULATOR

SN: 430077-UP

1шт.

61

CUDR-1964516

INSULATOR

SN: 430077-UP

1шт.

62

CUDR-1911644

WASHER

SN: 430077-UP

1шт.

63

CUDR-1936466

WASHER

SN: 430077-UP

1шт.

64

CUDR-1953237

WASHER

SN: 430077-UP

1шт.

65

CUDR-1945476

GASKET

SN: 430077-UP

1шт.

66

CUDR-1945860

O-RING

SN: .-UP

2шт.

67

CUDR-801077

BOOT

SN: .-UP

1шт.

68

CUDR-1948521

SPRING

SN: 430077-UP

1шт.

69

CUDR-1948526

RETAINER

SN: 430077-UP

1шт.

70

CUDR-1948520

RETAINER

SN: 430077-UP

1шт.

71

CUDR-9415235

RING

SN: 430077-UP

1шт.

72

CUDR-1955989

INSULATOR

SN: .-UP

1шт.

73

CUDR-1953236

LEAD

SN: 430077-UP

1шт.

74

CUDR-1945356

PLUG

SN: 430077-UP

2шт.

75

CUDR-1964857

GASKET

SN: 430077-UP

2шт.

Выбрано товаров: 0