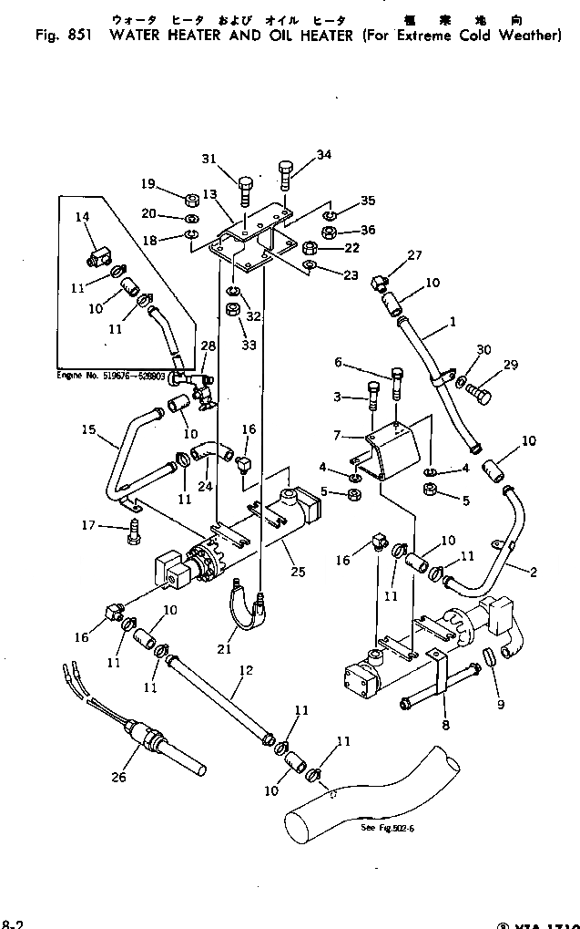
Запчасти Komatsu VTA-1710-1A ВОДЯНОЙ ПОДОГРЕВАТЕЛЬ И МАСЛ. ОБОГРЕВАТЕЛЬ. (ДЛЯ -ЯC СПЕЦ-Я.)(№97-) ОПЦИОННЫЕ КОМПОНЕНТЫ

Схема запчастей Komatsu VTA-1710-1A - ВОДЯНОЙ ПОДОГРЕВАТЕЛЬ И МАСЛ. ОБОГРЕВАТЕЛЬ. (ДЛЯ -ЯC СПЕЦ-Я.)(№97-) ОПЦИОННЫЕ КОМПОНЕНТЫ
FIT
1:1
100%

Артикул

Название

Примечание

Количество

1

6715-64-7320

PIPE

SN: 519676-528803

1шт.

|1

6715-64-7120

PIPE

SN: 528804-UP

1шт.

2

6715-64-7330

PIPE

SN: 528804-UP

1шт.

3

02010-70851

BOLT

SN: 519676-528803

1шт.

|3

02010-70857

BOLT

SN: 528804-UP

1шт.

4

01602-01338

WASHER

SN: 519676-UP

2шт.

5

02206-10808

NUT

SN: 519676-UP

2шт.

6

02010-70857

BOLT

SN: 519676-UP

1шт.

7

6715-64-7310

BRACKET

SN: 519676-528803

1шт.

|7

6715-64-7210

BRACKET

SN: 528804-UP

1шт.

8

6715-64-7340

PIPE

SN: 519676-528803

1шт.

|8

6715-64-7110

PIPE

SN: 528804-755210

1шт.

|8

6715-64-7112

PIPE

SN: 755211-UP

1шт.

9

08034-00823

BAND

SN: 519676-UP

2шт.

10

6631-64-8860

HOSE

SN: 519676-UP

7шт.

11

07281-00419

CLAMP

SN: 519676-UP

18шт.

12

6715-64-7130

PIPE

SN: 519676-UP

1шт.

13

6715-64-7210

BRACKET

SN: 519676-UP

1шт.

14

6715-64-7230

ELBOW

SN: 519676-UP

1шт.

15

6715-64-7140

PIPE

SN: 519676-528803

1шт.

|15

6715-64-7360

PIPE

SN: 528804-UP

1шт.

16

6127-61-7250

ELBOW

SN: 519676-UP

4шт.

17

01010-30830

BOLT

SN: 519676-UP

8шт.

18

01602-00825

WASHER

SN: 519676-UP

8шт.

19

01580-00806

NUT

SN: 519676-UP

8шт.

20

01642-00810

WASHER

SN: 519676-UP

8шт.

21

6127-61-7220

CLIP

SN: 519676-UP

2шт.

22

01598-00809

NUT

SN: 519676-UP

4шт.

23

01642-00810

WASHER

SN: 519676-UP

4шт.

24

6050-61-6160

HOSE

SN: 519676-UP

2шт.

25

6127-81-3100

HEATER ASS'Y

SN: 519676-528803

2шт.

25

6127-81-3101

HEATER

SN: 528804-UP

2шт.

26

6631-84-2910

HEATER

SN: 519676-528803

2шт.

|26

6631-84-2911

HEATER

SN: 528804-UP

2шт.

27

6715-64-7240

ELBOW

SN: 519676-UP

1шт.

28

6715-64-7350

ELBOW

SN: 528804-UP

1шт.

29

02010-70722

BOLT

SN: 528804-UP

1шт.

30

01602-01134

WASHER

SN: 528804-UP

1шт.

31

01010-31260

BOLT

SN: 528804-UP

1шт.

32

01602-01236

WASHER

SN: 528804-UP

1шт.

33

01580-01210

NUT

SN: 528804-UP

1шт.

34

01010-31865

BOLT

SN: 528804-UP

1шт.

35

01602-01854

WASHER

SN: 528804-UP

1шт.

36

01580-01815

NUT

SN: 528804-UP

1шт.

Выбрано товаров: 44