Запчасти Komatsu VTA-1710-1B ПОРШЕНЬ И ШАТУН БЛОК ЦИЛИНДРОВ

Схема запчастей Komatsu VTA-1710-1B - ПОРШЕНЬ И ШАТУН БЛОК ЦИЛИНДРОВ
FIT
1:1
100%

Артикул

Название

Примечание

Количество

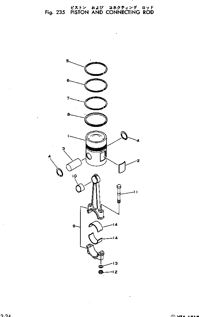
|1

CUAR-12357

PISTON ASS'Y

SN: 535024-UP

12шт.

|1

0

PISTON ASS'Y

SN: 430077-535023

12шт.

|1

CUAR-12358

PISTON

SN: 535024-UP

1шт.

1

0

SN: 430077-535023

1шт.

|1

0

SN: 535024-37104330

1шт.

|1

0

SN: 37104331-UP

1шт.

2

CU214719

INSERT

SN: 535024-UP

1шт.

3

CU191970

PIN

SN: 430077-UP

1шт.

4

CU175755

SNAP RING

SN: 430077-UP

2шт.

|5

CU3801049

PISTON RING ASS

SN: .-UP

12шт.

|5

0

RING

SN: 482430-.

12шт.

|5

0

RING SET

SN: .-482429

12шт.

5

CU147670

RING

SN: 430077-.

1шт.

|5

CU218025

RING

SN: .-UP

1шт.

6

CU132880

RING

SN: 430077-.

1шт.

|6

CU216983

COMPRESSION RIN

SN: .-UP

1шт.

7

CU214730

RING

SN: 482430-UP

1шт.

|7

0

RING

SN: 430077-482429

1шт.

8

CU218732

COMPRESSION RIN

SN: 482430-UP

1шт.

|8

0

OIL RING

SN: 430077-482429

1шт.

|9

CUAR-1129

CONNECTING ROD

SN: 430077-UP

12шт.

9

0

SN: 430077-UP

1шт.

10

CU187420

BUSHING

SN: 430077-UP

1шт.

11

CU146856

BOLT

SN: 430077-UP

2шт.

12

CU69936

NUT

SN: 430077-UP

2шт.

13

CU3025100

METAL

SN: .-UP

2шт.

|13

0

WASHER

SN: 430077-.

2шт.

14

CU200600

SHELL

SN: 430077-UP

24шт.

|14

CU200601

BEARING

SN: 430077-UP

24шт.

|14

CU200602

BEARING

SN: 430077-UP

24шт.

|14

CU200603

BEARING

SN: 430077-UP

24шт.

|14

CU200604

BEARING

SN: 430077-UP

24шт.

Выбрано товаров: 32