Запчасти Komatsu VTA-1710-1B HAND ОТВЕРСТИЕ COVER БЛОК ЦИЛИНДРОВ

Схема запчастей Komatsu VTA-1710-1B - HAND ОТВЕРСТИЕ COVER БЛОК ЦИЛИНДРОВ
FIT
1:1
100%

Артикул

Название

Примечание

Количество

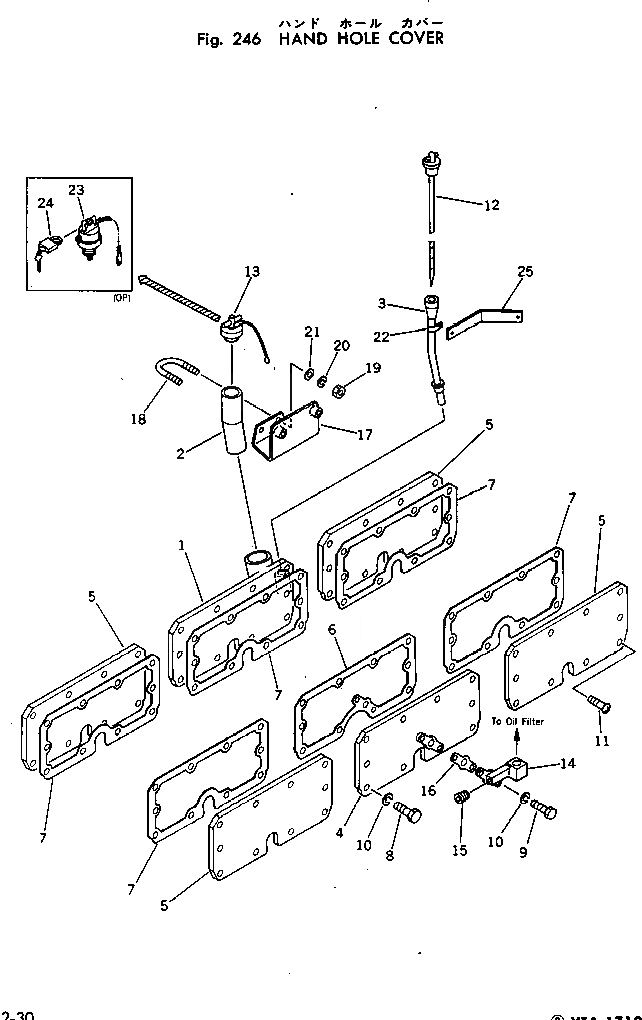
|1

CUAR-7516

COVER

SN: 433904-649260

1шт.

|1

6715-21-9912

COVER

SN: .-UP

1шт.

|1

0

GUIDE

SN: 649260-.

1шт.

1

CU195887

COVER

SN: 433904-UP

1шт.

2

CU188065

TUBE

SN: 433904-649260

1шт.

|2

CU3010390

TUBE

SN: 649261-.

1шт.

|2

CU3020922

TUBE

SN: .-UP

1шт.

3

CU188064

TUBE

SN: 433904-649260

1шт.

|3

CU3010391

TUBE

SN: 649261-.

1шт.

|3

CU3020883

TUBE

SN: .-UP

1шт.

4

CU195732

COVER

SN: 430077-.

1шт.

|4

CU3016179

COVER

SN: .-UP

1шт.

5

CU181261

COVER

SN: 433904-UP

3шт.

|5

6715-21-6760

COVER

SN: 433904-UP

1шт.

6

CU181415

GASKET

SN: 430077-UP

1шт.

7

CU3002734

GASKET

SN: 550574-UP

5шт.

|7

0

GASKET

SN: 430077-550573

1шт.

8

CU212752

BOLT

SN: 433904-UP

55шт.

9

CU131430

CAP SCREW

SN: 430077-UP

2шт.

10

6600-01-2620

WASHER

SN: 433904-UP

57шт.

11

6715-24-6750

SCREW

SN: 433904-UP

4шт.

12

CU188063

OIL GAUGE

SN: 433904-550573

1шт.

|12

CU214251

GAUGE

SN: 550574-690329

1шт.

|12

CU3013951

GAUGE

SN: 690330-UP

1шт.

13

CU107981

CAP

SN: 430077-UP

1шт.

14

CU210601

CONNECTOR

SN: 430077-UP

1шт.

15

02720-20810

PLUG

SN: 430077-UP

1шт.

16

CU195736

GASKET

SN: 430077-UP

1шт.

17

CU188246

BRACKET

SN: 430077-.

1шт.

|17

CU3020925

BRACKET

SN: .-UP

1шт.

18

CU132409

BOLT

SN: 433904-UP

1шт.

19

02205-10406

NUT

SN: 433904-UP

2шт.

20

01602-00720

WASHER

SN: 433904-UP

2шт.

21

02300-10920

WASHER

SN: 433904-UP

2шт.

22

CU200064

CLAMP

SN: 430077-UP

1шт.

23

600-031-1040

CAP ASS'Y

SN: 430077-UP

1шт.

24

600-031-1090

LOCK

SN: 430077-UP

1шт.

25

CU211427

BRACKET

SN: 430077-UP

1шт.

Выбрано товаров: 38