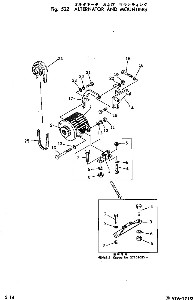
Запчасти Komatsu VTA-1710-1B ГЕНЕРАТОР И КРЕПЛЕНИЕ ОХЛАЖД-Е И ЭЛЕКТРИКАS

Схема запчастей Komatsu VTA-1710-1B - ГЕНЕРАТОР И КРЕПЛЕНИЕ ОХЛАЖД-Е И ЭЛЕКТРИКАS
FIT
1:1
100%

Артикул

Название

Примечание

Количество

1

600-821-8110

ALTERNATOR

SN: 433904-UP

1шт.

|1

CU203176

ALTERNATOR

SN: 433904-UP

1шт.

2

6715-81-2410

PULLEY

SN: 433904-738647

1шт.

|2

6715-81-2430

PULLEY

SN: 738648-UP

1шт.

3

6715-21-6310

BRACKET

SN: 433904-738647

1шт.

|3

6715-21-6411

BRACKET

SN: 738648-UP

1шт.

|3

6715-21-6410

BRACKET

SN: 433904-(1076)

1шт.

|3

6715-21-6411

BRACKET

SN: (1077)-UP

1шт.

4

01010-31860

BOLT

SN: 738648-UP

1шт.

|4

01010-31855

BOLT

SN: 433904-(1076)

1шт.

|4

01010-31860

BOLT

SN: (1077)-UP

1шт.

|4

01010-31865

BOLT

SN: 755206-UP

1шт.

5

01580-01815

NUT

SN: 433904-UP

1шт.

6

01602-01957

WASHER

SN: 738648-UP

1шт.

|6

01602-01854

WASHER

SN: 433904-738647

1шт.

7

01010-31255

BOLT

SN: 738648-UP

1шт.

|7

01010-31250

BOLT

SN: 433904-(1076)

1шт.

|7

01010-31255

BOLT

SN: (1077)-UP

1шт.

|7

01010-31260

BOLT

SN: 755206-UP

1шт.

8

01580-01210

NUT

SN: 433904-UP

1шт.

9

01602-01236

WASHER

SN: 433904-UP

1шт.

10

01011-31450

BOLT

SN: 433904-UP

1шт.

|10

02011-20852

BOLT

SN: 433904-755205

1шт.

|10

6128-21-6780

BOLT

SN: 755206-UP

1шт.

11

01580-01411

NUT

SN: 433904-UP

1шт.

|11

02205-10812

NUT

SN: 433904-UP

1шт.

12

01602-01442

WASHER

SN: 433904-UP

1шт.

|12

01602-01338

WASHER

SN: 433904-UP

1шт.

13

01640-21426

WASHER

SN: 433904-UP

2шт.

|13

01640-21323

WASHER

SN: 433904-UP

2шт.

14

6715-21-6340

BRACKET

SN: 433904-UP

1шт.

|14

6715-21-6440

BRACKET

SN: 433904-UP

1шт.

15

02010-20670

BOLT

SN: 430077-UP

3шт.

16

6600-01-2620

WASHER

SN: 430077-UP

6шт.

17

6715-21-6350

PLATE

SN: 430077-UP

1шт.

|17

6715-21-6450

PLATE

SN: 433904-UP

1шт.

18

01010-31235

SCREW

SN: 433904-UP

1шт.

19

01580-01210

NUT

SN: 433904-UP

1шт.

20

01602-01236

WASHER

SN: 433904-UP

1шт.

21

01010-31235

SCREW

SN: 433904-UP

1шт.

|21

02010-20832

BOLT

SN: 433904-UP

1шт.

22

01602-01236

WASHER

SN: 433904-UP

1шт.

|22

01602-01338

WASHER

SN: 433904-UP

1шт.

23

01640-21323

WASHER

SN: 430077-UP

1шт.

24

6715-81-2610

PULLEY

SN: 433904-UP

1шт.

|24

6715-81-2640

PULLEY

SN: 433904-UP

1шт.

|24

6715-81-2630

PULLEY

SN: 433904-UP

1шт.

25

04120-22232

V-BELT

SN: 433904-UP

1шт.

|25

04120-21938

V-BELT

SN: 433904-UP

1шт.

|25

04120-31938

V-BELT

SN: 433904-UP

1шт.

Выбрано товаров: 50