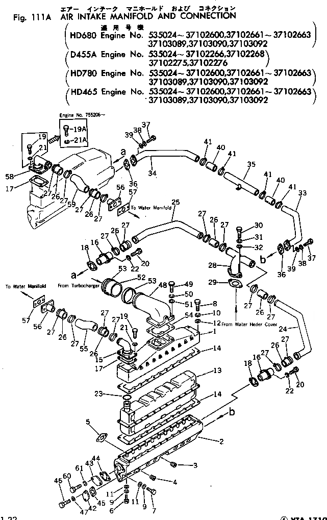
Запчасти Komatsu VTA-1710-1B ТРУБОПРОВОД ВПУСКА ВОЗДУХА(№-7¤78¤77-77) ГОЛОВКА ЦИЛИНДРОВ

Схема запчастей Komatsu VTA-1710-1B - ТРУБОПРОВОД ВПУСКА ВОЗДУХА(№-7¤78¤77-77) ГОЛОВКА ЦИЛИНДРОВ
FIT
1:1
100%

Артикул

Название

Примечание

Количество

1

CU195763

MANIFOLD

SN: 535024-@

2шт.

2

CU3005407

MANIFOLD

SN: 535024-@

2шт.

3

02720-20204

PLUG

SN: 535024-@

2шт.

4

02720-21616

PLUG

SN: 535024-@

2шт.

5

CU142324

GASKET

SN: 535024-@

8шт.

6

02010-20638

BOLT

SN: 535024-746608

8шт.

|6

CUS-112

CAP SCREW

SN: 746609-@

4шт.

|6

CUS-119

CAP SCREW

SN: 746609-@

6шт.

7

02011-20602

BOLT

SN: 535024-@

16шт.

8

CUS-124-C

CAP SCREW

SN: 535024-@

40шт.

9

01602-00929

WASHER

SN: 535024-746608

24шт.

|9

01602-00929

WASHER

SN: 746609-@

22шт.

10

01602-00825

WASHER

SN: 535024-746608

40шт.

|10

01602-00825

WASHER

SN: 746609-@

48шт.

11

01640-21016

WASHER

SN: 535024-74608

24шт.

|11

01640-21016

WASHER

SN: 746609-@

14шт.

12

01640-20816

WASHER

SN: 535024-746608

40шт.

|12

01640-20816

WASHER

SN: 746609-@

48шт.

13

CU214836

ELEMENT

SN: 535024-@

2шт.

14

CU216486

GASKET

SN: 535024-@

4шт.

15

CU218166

CONNECTOR

SN: 535024-@

1шт.

16

CU200666

CONNECTOR

SN: 535024-@

2шт.

17

CU3008024

GASKET

SN: 535024-@

4шт.

18

CU188221

GASKET

SN: 535024-@

2шт.

19

CU101662

CAP SCREW

SN: 535024-755205

8шт.

|19

CU101662

CAP SCREW

SN: 755206-@

4шт.

19A

CUS-124-C

CAP SCREW

SN: 755206-@

4шт.

20

02010-20632

BOLT

SN: 535024-@

4шт.

21

01602-00825

WASHER

SN: 535024-755205

8шт.

|21

01602-00825

WASHER

SN: 755206-@

4шт.

21A

02310-11020

WASHER

SN: 755206-@

4шт.

22

01602-00825

WASHER

SN: 535024-@

4шт.

23

CU195952

O-RING

SN: 535024-@

4шт.

24

CU201463

TUBE

SN: 535024-@

1шт.

25

CU201490

TUBE

SN: 550574-37102814

1шт.

|25

6715-11-4750

TUBE

SN: 37102815-@

1шт.

26

CU9539-A

HOSE

SN: 535024-@

8шт.

27

CU43828-B

CLAMP

SN: 535024-.

16шт.

|27

CU209773

CLAMP

SN: .-@

16шт.

28

CU202091

CONNECTION

SN: 550574-@

1шт.

29

CU201747

GASKET

SN: 535024-@

1шт.

30

CUS-149-A

CAP SCREW

SN: 535024-@

2шт.

31

01602-00929

WASHER

SN: 535024-@

2шт.

32

01640-21016

WASHER

SN: 535024-@

2шт.

33

CUAR-45299

TUBE ASS'Y

SN: 535024-@

1шт.

34

CUAR-45301

TUBE ASS'Y

SN: 535024-37102814

1шт.

|34

6715-11-4760

TUBE

SN: 37102815-@

1шт.

35

CUAR-45303

TUBE ASS'Y

SN: 535024-@

1шт.

36

CU200258

GASKET

SN: 535024-@

2шт.

37

02010-20632

BOLT

SN: 535024-@

4шт.

38

01602-00929

WASHER

SN: 535024-@

4шт.

39

01640-21016

WASHER

SN: 535024-@

4шт.

40

6610-61-6531

HOSE

SN: 535024-@

2шт.

41

CU43828-C

CLAMP

SN: 535024-@

4шт.

42

CU200677

FLANGE

SN: 535024-@

2шт.

43

CU200678

FLANGE

SN: 535024-@

2шт.

44

CU188221

GASKET

SN: 535024-@

2шт.

45

CU200258

GASKET

SN: 535024-@

2шт.

46

CU3010596

CAP SCREW

SN: 535024-@

6шт.

47

01602-00929

WASHER

SN: 535024-@

6шт.

48

CU200744

CONNECTOR

SN: 535024-@

1шт.

|48

CU218938

CONNECTOR

SN: 755206-@

1шт.

|48

CU200803

CONNECTOR

SN: 535024-@

1шт.

|48

CU218939

CONNECTOR

SN: 755206-@

1шт.

49

02010-20638

BOLT

SN: 535024-@

8шт.

50

6600-01-2620

WASHER

SN: 535024-@

8шт.

|50

CUS-604

WASHER

SN: 755206-@

8шт.

51

01640-21016

WASHER

SN: 535024-@

8шт.

52

CU124116

HOSE

SN: 535024-@

2шт.

53

CU125739

CLIP

SN: 535024-@

4шт.

54

CU216487

GASKET

SN: 535024-@

2шт.

55

CU201746

TUBE

SN: 550574-@

1шт.

56

CU202090

CONNECTOR

SN: 535024-@

2шт.

57

CU200258

GASKET

SN: 535024-@

2шт.

58

6715-11-4561

CONNECTOR

SN: 535024-603796

1шт.

|58

6715-11-4562

CONNECTOR

SN: 603797-@

1шт.

|58

6715-11-4660

CONNECTOR

SN: 755206-@

1шт.

59

6715-11-4550

TUBE

SN: 535024-603796

1шт.

|59

6715-11-4551

PIPE

SN: 603797-@

1шт.

|59

6715-11-4650

TUBE

SN: 755206-@

1шт.

60

02010-20632

BOLT

SN: 535024-37102814

2шт.

|60

02010-20638

BOLT

SN: 37102815-@

2шт.

61

01602-00929

WASHER

SN: 535024-@

2шт.

62

08670-00635

DUST INDICATOR

SN: 535024-@

1шт.

Выбрано товаров: 84