Запчасти Komatsu VTA-1710-1C ГЕНЕРАТОР И КРЕПЛЕНИЕ ОХЛАЖД-Е И ЭЛЕКТРИКАS

Схема запчастей Komatsu VTA-1710-1C - ГЕНЕРАТОР И КРЕПЛЕНИЕ ОХЛАЖД-Е И ЭЛЕКТРИКАS
FIT
1:1
100%

Артикул

Название

Примечание

Количество

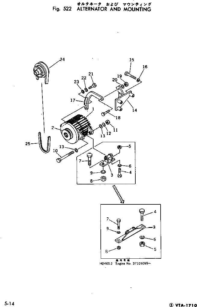
1

CU203176

ALTERNATOR A. (50A)

SN: 689062-UP

1шт.

2

CU201986

PULLEY

SN: 689062-UP

1шт.

3

CU203716

BRACKET

SN: 430077-UP

1шт.

4

02010-21264

BOLT

SN: 430077-.

1шт.

4

02010-71276

BOLT

SN: .-UP

1шт.

5

02205-11219

NUT

SN: 430077-UP

1шт.

6

01602-01957

WASHER

SN: 430077-UP

1шт.

7

02010-20851

BOLT

SN: 430077-.

1шт.

7

02010-70864

BOLT

SN: .-UP

1шт.

8

02205-10812

NUT

SN: 430077-UP

1шт.

9

01602-01338

WASHER

SN: 430077-UP

1шт.

10

02011-20852

BOLT

SN: 430077-UP

1шт.

11

02205-10812

NUT

SN: 430077-UP

1шт.

12

01602-01338

WASHER

SN: 430077-UP

1шт.

13

01640-21323

WASHER

SN: 430077-UP

2шт.

14

CU203055

BRACKET

SN: 430077-UP

1шт.

15

02010-20670

BOLT

SN: 430077-UP

3шт.

16

6600-01-2620

WASHER

SN: 430077-UP

6шт.

17

6715-21-6350

PLATE

SN: 430077-UP

1шт.

18

02120-20638

BOLT

SN: 430077-UP

1шт.

19

02205-10609

NUT

SN: 430077-UP

1шт.

20

01602-00929

WASHER

SN: 430077-UP

1шт.

21

02010-20832

BOLT

SN: 430077-UP

1шт.

22

01602-01338

WASHER

SN: 430077-UP

1шт.

23

01640-21323

WASHER

SN: 430077-UP

1шт.

24

6715-81-2610

PULLEY

SN: 689062-UP

1шт.

25

CU178376

V-BELT

SN: 430077-UP

1шт.

Выбрано товаров: 27