Качественные детали и логистика
Оригинальные и аналоговые запчасти с доставкой по России, Казахстану и Беларуси
©2022 PartSell ООО "Система" ИНН 2463123282 ОГРН 1212400004838
Центральный офис: г. Красноярск, Академика Киренского, д.87, пом.4
Телефон: 8 (800) 777-65-74 Email: zakaz@partsell.ru
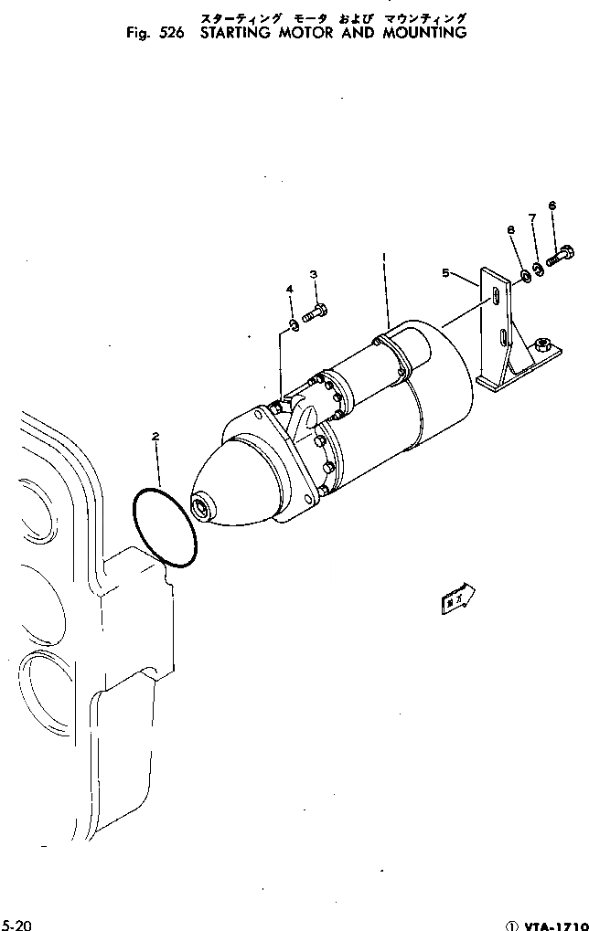
СТАРТЕР И КРЕПЛЕНИЕ
№
Артикул
Название
Примечание
Количество
1
CU186396
STARTING MOTOR ASS'Y
SN: 430077-.
1шт.
CU3021038
SN: .-UP
3
CUS-127-C
BOLT
SN: 430077-UP
3шт.
4
CUS-603
WASHER
Выбрано товаров: 0