Запчасти Komatsu VTA-1710-1C МАСЛЯНЫЙ ПОДДОН(№77-.) БЛОК ЦИЛИНДРОВ

Схема запчастей Komatsu VTA-1710-1C - МАСЛЯНЫЙ ПОДДОН(№77-.) БЛОК ЦИЛИНДРОВ
FIT
1:1
100%

Артикул

Название

Примечание

Количество

1

0

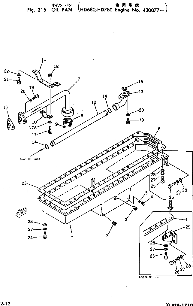
OIL PAN

SN: 430077-.

1шт.

|$$2

(CU3005451{CU214831¤}

-1шт.

|$$3

CU214832)

-1шт.

|1

CU3005451

OIL PAN

SN: .-UP

1шт.

2

02720-21616

PLUG

SN: 430077-.

2шт.

|2

CU3008470

PLUG

SN: .-UP

2шт.

3

02720-21214

PLUG

SN: 430077-.

2шт.

|3

CU3008469

PLUG

SN: .-UP

2шт.

4

CU69962

PLUG

SN: 430077-UP

2шт.

5

6610-81-4150

GASKET

SN: 430077-UP

2шт.

6

CU66998

SEAL

SN: 430077-UP

1шт.

7

CUBM-98186

TUBE

SN: 430077-UP

1шт.

8

CU43226-2

SCREEN

SN: 430077-UP

1шт.

9

CU69171-1

SUPPORT

SN: 430077-UP

1шт.

10

CU190089

CLAMP

SN: 430077-UP

1шт.

11

CU190088

BRACKET

SN: 430077-UP

1шт.

12

CU204185

TUBE

SN: 430077-UP

1шт.

13

CU204188

CONNECTION

SN: 430077-UP

1шт.

14

CU178937

O-RING

SN: 430077-.

2шт.

|14

CU3010157

O-RING

SN: .-UP

2шт.

15

CU186714

RING

SN: 430077-.

1шт.

|15

CU3008966

GASKET

SN: .-UP

1шт.

16

CU3008965

GASKET

SN: .-UP

1шт.

|16

0

GASKET

SN: 430077-.

1шт.

17

02010-20522

BOLT

SN: 430077-UP

2шт.

17A

CUS-602

WASHER

SN: 430077-UP

2шт.

18

CU109558

NUT

SN: 430077-UP

2шт.

19

02010-20625

BOLT

SN: 430077-UP

5шт.

20

CU68908-A

PLATE

SN: 430077-UP

5шт.

21

02010-20622

BOLT

SN: 430077-UP

2шт.

22

CU109319

PLATE

SN: 430077-UP

2шт.

23

CU181256

GASKET

SN: 430077-UP

1шт.

24

CU3011716

BOLT

SN: .-UP

43шт.

|24

0

BOLT

SN: 430077-.

43шт.

25

CU3012477

BOLT

SN: .-UP

2шт.

|25

0

BOLT

SN: 430077-.

2шт.

26

CU158250

BOLT

SN: 430077-UP

4шт.

27

01602-00929

WASHER

SN: 430077-UP

49шт.

28

01640-21016

WASHER

SN: 430077-UP

49шт.

29

CU214831

BRACKET,L.H.

SN: .-UP

1шт.

|29

CU214832

BRACKET,R.H.

SN: .-UP

1шт.

Выбрано товаров: 41