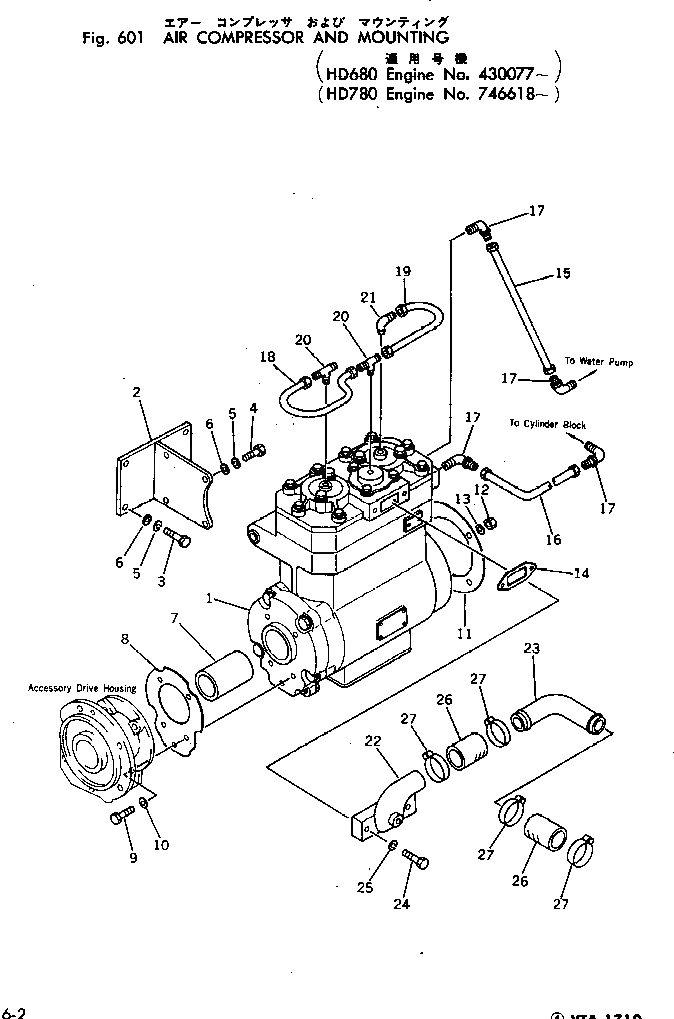
Запчасти Komatsu VTA-1710-1C КОМПРЕССОР И КРЕПЛЕНИЕ АКСЕССУАРЫ

Схема запчастей Komatsu VTA-1710-1C - КОМПРЕССОР И КРЕПЛЕНИЕ АКСЕССУАРЫ
FIT
1:1
100%

Артикул

Название

Примечание

Количество

1

CUAR-7545

AIR COMPRESSOR

SN: 430077-.

1шт.

|1

CU3025827

AIR COMPRESSOR

SN: .-UP

1шт.

2

CU198843

BRACKET

SN: 430077-UP

1шт.

3

02010-20625

BOLT

SN: 430077-UP

4шт.

4

CU204249

BOLT

SN: 430077-UP

4шт.

5

01602-00929

WASHER

SN: 430077-UP

8шт.

6

01640-21016

WASHER

SN: 430077-UP

8шт.

7

CU199358

COUPLING

SN: 430077-UP

1шт.

8

CU218027

GASKET

SN: 430077-.

1шт.

|8

CU3005962

GASKET

SN: .-UP

1шт.

9

CU204249

BOLT

SN: 430077-UP

4шт.

10

CU118273

GASKET

SN: 430077-UP

4шт.

11

CU200817

GASKET

SN: 430077-UP

1шт.

12

02215-10710

NUT

SN: 430077-UP

4шт.

13

CUS-689

WASHER

SN: 430077-UP

4шт.

14

CU127950

GASKET

SN: 430077-UP

1шт.

15

CU210570

TUBE

SN: 430077-UP

1шт.

16

CU210583

TUBE

SN: 430077-535023

1шт.

16

CU3000060

TUBE

SN: 535024-UP

1шт.

17

CUS-1005-A

ELBOW

SN: 430077-UP

4шт.

18

CU3005577

TUBE

SN: 535024-UP

1шт.

19

CU3005578

TUBE

SN: 535024-UP

1шт.

20

CU69314

TEE

SN: 535024-UP

2шт.

21

CU68139

ELBOW

SN: 535024-UP

1шт.

22

CU218252

CONNECTION

SN: 535024-UP

1шт.

23

CU218254

TUBE

SN: 535024-UP

1шт.

24

CU3022590

BOLT

SN: 535024-UP

2шт.

25

CUS-605

WASHER

SN: 535024-UP

2шт.

26

CU61554

HOSE

SN: 535024-UP

2шт.

27

CU43828-A

CLAMP

SN: 535024-UP

4шт.

Выбрано товаров: 30