Запчасти Komatsu VTA-1710-1D МАСЛЯНЫЙ ПОДДОН(№79-) БЛОК ЦИЛИНДРОВ

Схема запчастей Komatsu VTA-1710-1D - МАСЛЯНЫЙ ПОДДОН(№79-) БЛОК ЦИЛИНДРОВ
FIT
1:1
100%

Артикул

Название

Примечание

Количество

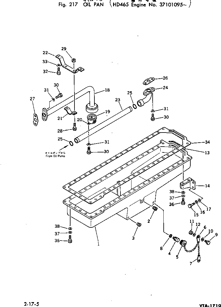
1

CU3005451

OIL PAN

SN: 37101095-UP

1шт.

2

CU3008470

PLUG

SN: 37101095-UP

2шт.

3

CU3008469

PLUG

SN: 37101095-UP

2шт.

4

CU3016316

COUPLER

SN: 37101095-UP

1шт.

5

CU3016318

PLUG

SN: 37101095-UP

1шт.

6

6721-21-5610

PLATE

SN: 37101095-UP

1шт.

7

6610-21-7220

CHAIN

SN: 37101095-UP

1шт.

8

6610-81-4150

GASKET

SN: 37101095-UP

2шт.

9

01220-40412

SCREW

SN: 37101095-UP

1шт.

10

01641-20405

WASHER

SN: 37101095-UP

1шт.

11

01580-00403

NUT

SN: 37101095-UP

1шт.

12

01601-00410

WASHER

SN: 37101095-UP

1шт.

13

CU66998

SEAL

SN: 37101095-UP

1шт.

14

CU214832

BRACKET,R.H.

SN: 37101095-UP

1шт.

|14

CU214831

BRACKET,L.H.

SN: 37101095-UP

1шт.

15

CU158250

BOLT

SN: 37101095-UP

4шт.

16

01602-01648

WASHER

SN: 37101095-UP

4шт.

17

01640-21626

WASHER

SN: 37101095-UP

4шт.

18

CUBM-98186

TUBE

SN: 37101095-UP

1шт.

19

CU43226-2

SCREEN

SN: 37101095-UP

1шт.

20

CU69171-1

SUPPORT

SN: 37101095-UP

1шт.

21

CU190089

CLAMP

SN: 37101095-UP

1шт.

22

CU190088

BRACKET

SN: 37101095-UP

1шт.

23

CU204185

TUBE

SN: 37101095-UP

1шт.

24

CU204188

CONNECTION

SN: 37101095-UP

4шт.

25

CU3010157

O-RING

SN: 37101095-UP

2шт.

26

CU3008966

GASKET

SN: 37101095-UP

1шт.

27

CU3008965

GASKET

SN: 37101095-UP

1шт.

28

CUS-115

BOLT

SN: 37101095-UP

2шт.

29

CU109558

NUT

SN: 37101095-UP

2шт.

30

02010-20625

BOLT

SN: 37101095-UP

5шт.

31

CU68908

PLATE

SN: 37101095-UP

5шт.

32

02010-20622

BOLT

SN: 37101095-UP

2шт.

33

CU109319

PLATE

SN: 37101095-UP

2шт.

34

CU181256

GASKET

SN: 37101095-UP

1шт.

35

CU3011716

BOLT

SN: 37101095-UP

41шт.

36

CUS-163

BOLT

SN: 37101095-UP

4шт.

37

01602-00929

WASHER

SN: 37101095-UP

4шт.

38

01640-21016

WASHER

SN: 37101095-UP

4шт.

Выбрано товаров: 39