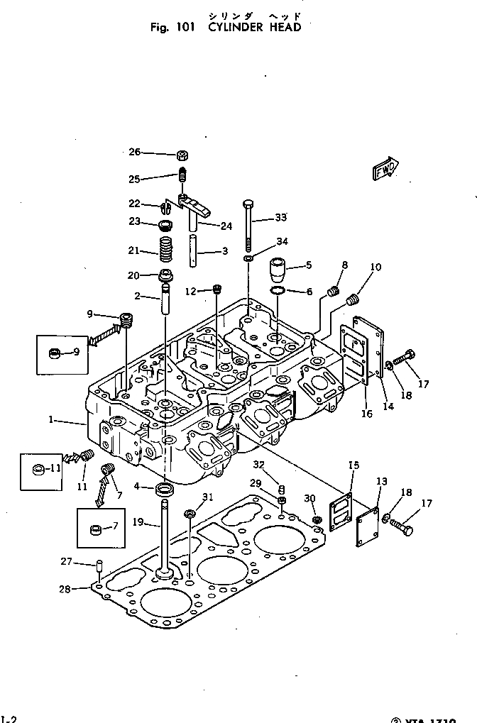
Запчасти Komatsu VTA-1710-1D ГОЛОВКА ЦИЛИНДРОВ ГОЛОВКА ЦИЛИНДРОВ

Схема запчастей Komatsu VTA-1710-1D - ГОЛОВКА ЦИЛИНДРОВ ГОЛОВКА ЦИЛИНДРОВ
FIT
1:1
100%

Артикул

Название

Примечание

Количество

|1

CUAR-11745

CYLINDER HEAD A.

SN: 541497-UP

4шт.

|1

0

CYLINDER HEAD A.

SN: 430077-541496

4шт.

|1

CUAR-4856

CYLINDER HEAD A.

SN: 430077-UP

1шт.

1

0

HEAD

SN: 430077-UP

1шт.

2

CU3006456

GUIDE

SN: 541497-UP

12шт.

|2

0

GUIDE

SN: 430077-541496

12шт.

3

CU123558

GUIDE

SN: 430077-UP

6шт.

4

CU127930

INSERT

SN: 430077-535023

12шт.

|4

CU127930

INSERT

SN: 535024-.

6шт.

|4

CU127930

INSERT

SN: .-UP

12шт.

|4

CU200354

INSERT

SN: 535024-.

6шт.

5

CU147056

SLEEVE

SN: 541497-.

3шт.

|5

0

SLEEVE

SN: 430077-541496

3шт.

|5

CU3011934

SLEEVE

SN: .-UP

3шт.

6

CU3007759

O-RING

SN: 541497-UP

3шт.

|6

0

O-RING

SN: 430077-541496

3шт.

7

02720-21214

PLUG

SN: 430077-535023

9шт.

|7

CU213395

PLUG

SN: 535024-.

10шт.

|7

CU3008469

PLUG

SN: .-UP

13шт.

8

02720-20204

PLUG

SN: 430077-535023

7шт.

|8

02720-20204

PLUG

SN: 535024-UP

6шт.

9

02720-21616

PLUG

SN: 430077-535023

3шт.

|9

CU216524

PLUG

SN: 535024-.

3шт.

|9

CU3008470

PLUG

SN: .-UP

3шт.

10

02720-20810

PLUG

SN: 430077-UP

1шт.

11

CU126904

PLUG

SN: 430077-535023

1шт.

|11

CU213394

PLUG

SN: 535024-.

5шт.

|11

CU3008468

PLUG

SN: .-UP

2шт.

12

CU162143

PLUG

SN: 430077-UP

1шт.

13

CU170740

COVER

SN: 430077-UP

2шт.

14

CU170741

COVER

SN: 430077-UP

1шт.

15

CU170742

GASKET

SN: 430077-UP

2шт.

16

CU170743

GASKET

SN: 430077-UP

1шт.

17

CUS-115

BOLT

SN: 430077-.

14шт.

|17

CU3021470

BOLT

SN: .-UP

14шт.

18

01602-00825

WASHER

SN: 430077-.

14шт.

19

CU145701

VALVE

SN: 430077-UP

12шт.

20

CU172034

GUIDE

SN: 430077-UP

12шт.

21

CU211999

SPRING

SN: 430077-UP

12шт.

22

CU127554

COLLET

SN: 430077-UP

24шт.

23

CU170296

RETAINER

SN: 430077-UP

12шт.

24

CU3009465

CROSSHEAD

SN: 430077-UP

24шт.

24

0

CROSSHEAD

SN: 430077-.

24шт.

25

CU147389

SCREW

SN: 430077-UP

24шт.

26

CU203131

NUT

SN: 430077-UP

24шт.

27

CU102978

PIN

SN: 430077-UP

8шт.

|27

CUBM-98021

GASKET ASS'Y

SN: 430077-37101731

4шт.

|27

CU218318

GASKET ASS'Y

SN: 37101732-37106012

4шт.

|27

CU3033403

GASKET ASS'Y

SN: 37106013-UP

4шт.

28

0

GASKET

SN: 430077-37101731

1шт.

29

CU181293

GROMMET

SN: 430077-37101731

1шт.

|29

CU181293

GROMMET

SN: 37106013-UP

1шт.

30

CU193949

GROMMET

SN: 430077-37101731

18шт.

|30

CU3036127

GROMMET

SN: 37106013-UP

18шт.

31

CU214605

GROMMET

SN: 541497-37101731

2шт.

|31

CU214605

GROMMET

SN: 37106013-UP

2шт.

|31

0

GROMMET

SN: 430077-541496

2шт.

32

CU181272

RETAINER

SN: 430077-37101731

1шт.

|32

CU181272

RETAINER

SN: 37106013-UP

1шт.

32A

CU136265

GROMMET

SN: 430077-37101731

6шт.

|32A

CU136265

GROMMET

SN: 37106013-UP

6шт.

33

CU177734

BOLT

SN: 430077-UP

72шт.

34

6710-11-1650

WASHER

SN: 430077-UP

72шт.

Выбрано товаров: 63