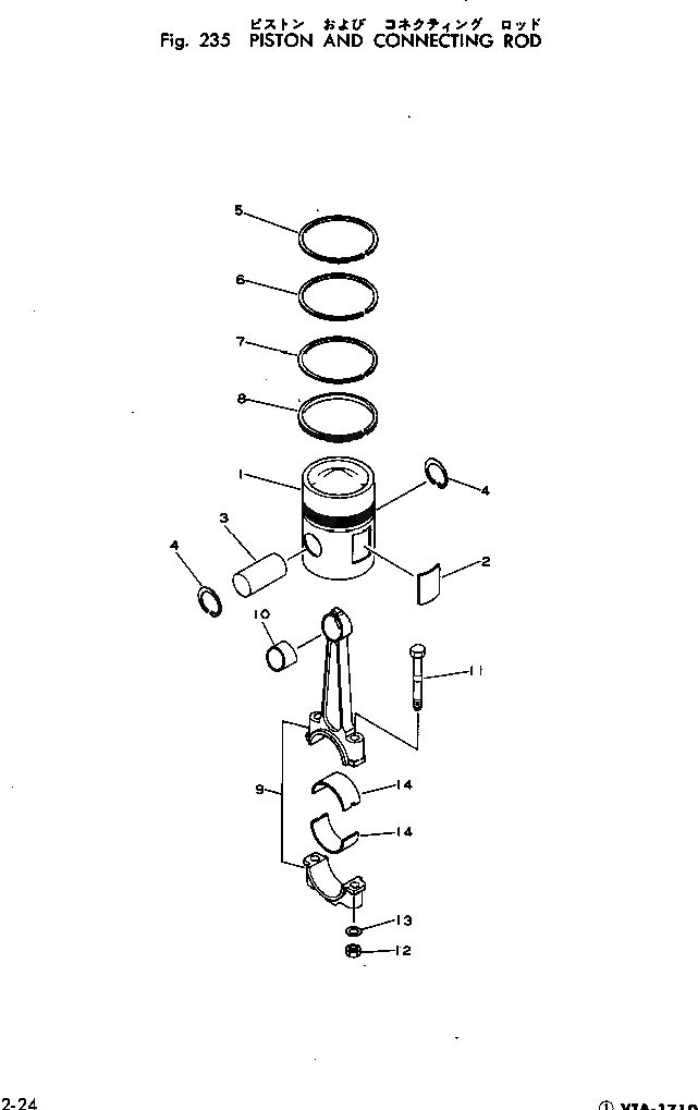
Запчасти Komatsu VTA-1710-1D ПОРШЕНЬ И ШАТУН БЛОК ЦИЛИНДРОВ

Схема запчастей Komatsu VTA-1710-1D - ПОРШЕНЬ И ШАТУН БЛОК ЦИЛИНДРОВ
FIT
1:1
100%

Артикул

Название

Примечание

Количество

|$0

CUAR-12359

PISTON ASS'Y

SN: 37101095-UP

12шт.

|$1

CUAR-12360

PISTON ASS'Y

SN: 37101095-UP

1шт.

1

0

PISTON

SN: 37101095-37104303

1шт.

1

0

PISTON

SN: 37104304-UP

1шт.

2

CU214719

INSERT

SN: 535024-UP

1шт.

3

CU191970

PIN

SN: 430077-UP

1шт.

4

CU175755

RING

SN: 430077-UP

2шт.

|$7

CU3801049

PISTON RING ASS'Y

SN: .-UP

12шт.

|$8

0

PISTON RING ASS'Y

SN: 482430-.

12шт.

|$9

0

PISTON RING ASS'Y

SN: .-482429

12шт.

5

CU147670

RING

SN: 430077-.

1шт.

5

CU218025

RING

SN: .-UP

1шт.

6

CU132880

RING

SN: 430077-.

1шт.

6

CU216983

RING

SN: .-UP

1шт.

7

CU214730

RING

SN: 482430-UP

1шт.

7

0

RING

SN: 430077-482429

1шт.

8

CU218732

RING

SN: 482430-UP

1шт.

8

0

RING

SN: 430077-482429

1шт.

|$18

CUAR-1129

CONNECTING ROD A.

SN: 430077-UP

12шт.

9

0

ROD

SN: 430077-UP

1шт.

10

CU187420

BUSHING

SN: 430077-UP

1шт.

11

CU146856

BOLT

SN: 430077-UP

2шт.

12

CU69936

NUT

SN: 430077-UP

2шт.

13

CU3025100

WASHER

SN: .-UP

2шт.

13

0

WASHER

SN: 430077-.

2шт.

14

CU200600

METAL (STD)

SN: 430077-UP

24шт.

14

CU200601

METAL,0.25 (US)

SN: 430077-UP

24шт.

14

CU200602

METAL,0.50 (US)

SN: 430077-UP

24шт.

14

CU200603

METAL,0.75 (US)

SN: 430077-UP

24шт.

14

CU200604

METAL,1.00 (US)

SN: 430077-UP

24шт.

Выбрано товаров: 30