Запчасти Komatsu WB140-2 НАВЕС (/) ЧАСТИ КОРПУСА И КАБИНА

Схема запчастей Komatsu WB140-2 - НАВЕС (/) ЧАСТИ КОРПУСА И КАБИНА
A
B
14
B
C
C
D
D
A
3
5
8
9
2
6
4
7
10
11
3
5
13
12
8
9
2
4
6
7
1
10
11
12
13
FIT
1:1
100%

Артикул

Название

Примечание

Количество

\0

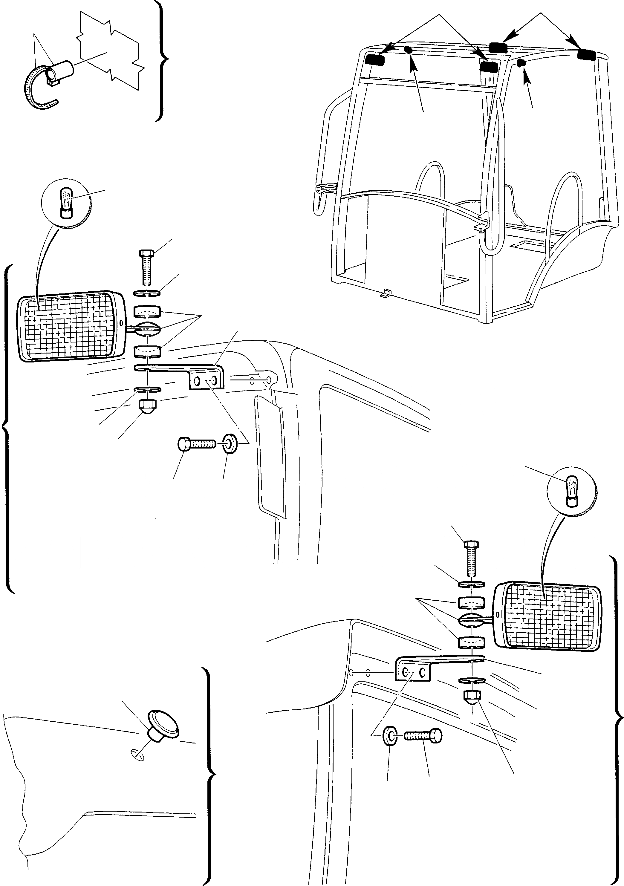
312605094

OPERATOR'S CANOPY, ASSY

1

885411067

PLUG

2

885111114

WORK LIGHT, L.H.

3

885140049

BULB

4

885111113

WORK LIGHT, R.H.

5

885140049

BULB

6

816214642

BRACKET, LIGHT, L.H.

7

816214643

BRACKET, LIGHT, R.H.

8

801105525

BOLT

9

802170000

WASHER

10

802120006

SPRING WASHER

11

816214659

SELF-LOCKING NUT

12

801250060

BOLT

13

802170000

WASHER

14

312672604

WRAPPER

Выбрано товаров: 0