Запчасти Komatsu WB140-2N FIG. T78-A HAND-МОЛОТ - MODEL BBHI РАБОЧЕЕ ОБОРУДОВАНИЕ

Схема запчастей Komatsu WB140-2N - FIG. T78-A HAND-МОЛОТ - MODEL BBHI РАБОЧЕЕ ОБОРУДОВАНИЕ
5
4
7
9
8
4
6
5
2
13
1
12
2
10
11
3
15
16
14
17
20
18
21
19
FIT
1:1
100%

Артикул

Название

Примечание

Количество

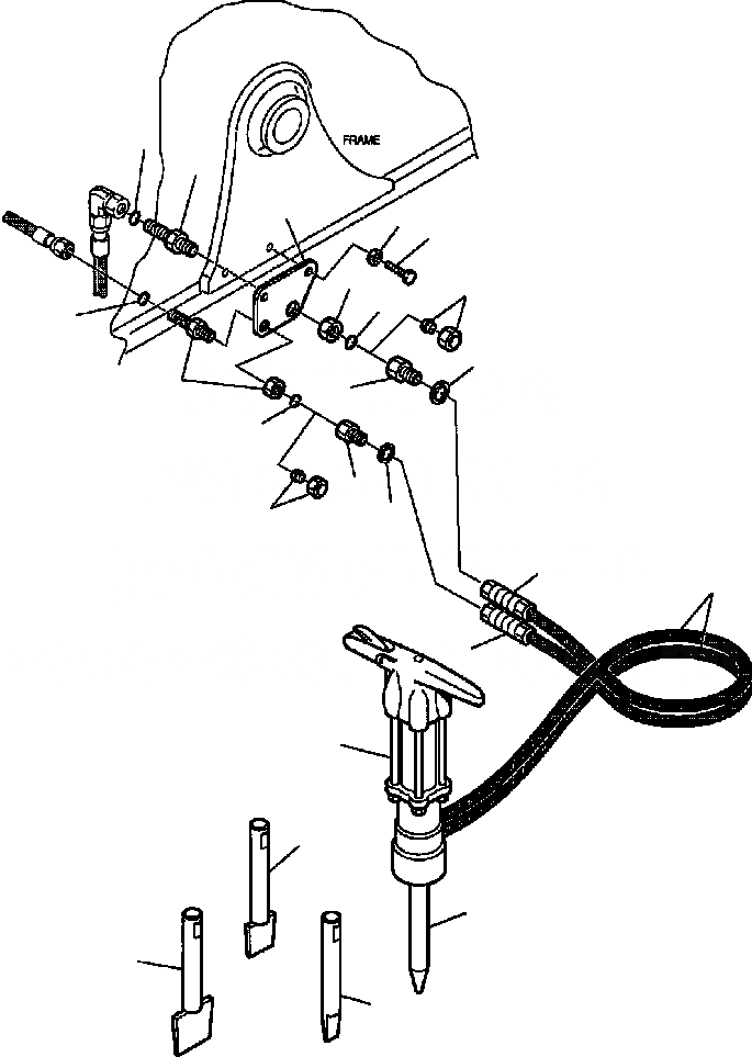
1

500380321

UNION

2

855051012

O-RING

3

500380311

PLUG

4

500380324

UNION

5

855051018

O-RING

6

500380314

PLUG

7

312635601

SUPPORT PLATE

8

801015109

BOLT

9

802170002

WASHER

10

312635602

UNION

11

885150037

GASKET

12

312635603

UNION

13

885150063

GASKET

14

200362232

DELIVERY FAST COUPLING LINE

15

200362272

DISCHARGE FAST COUPLING LINE

16

852960007

HOSES KIT

17

827010019

HYDRAULIC HAND-HAMMER

18

827010025

TAPPERED POINT

19

827010026

CHISEL POINT

20

827010084

SMALL SPADE POINT

21

827010093

LARGE SPADE POINT

Выбрано товаров: 21