Качественные детали и логистика
Оригинальные и аналоговые запчасти с доставкой по России, Казахстану и Беларуси
©2022 PartSell ООО "Система" ИНН 2463123282 ОГРН 1212400004838
Центральный офис: г. Красноярск, Академика Киренского, д.87, пом.4
Телефон: 8 (800) 777-65-74 Email: zakaz@partsell.ru
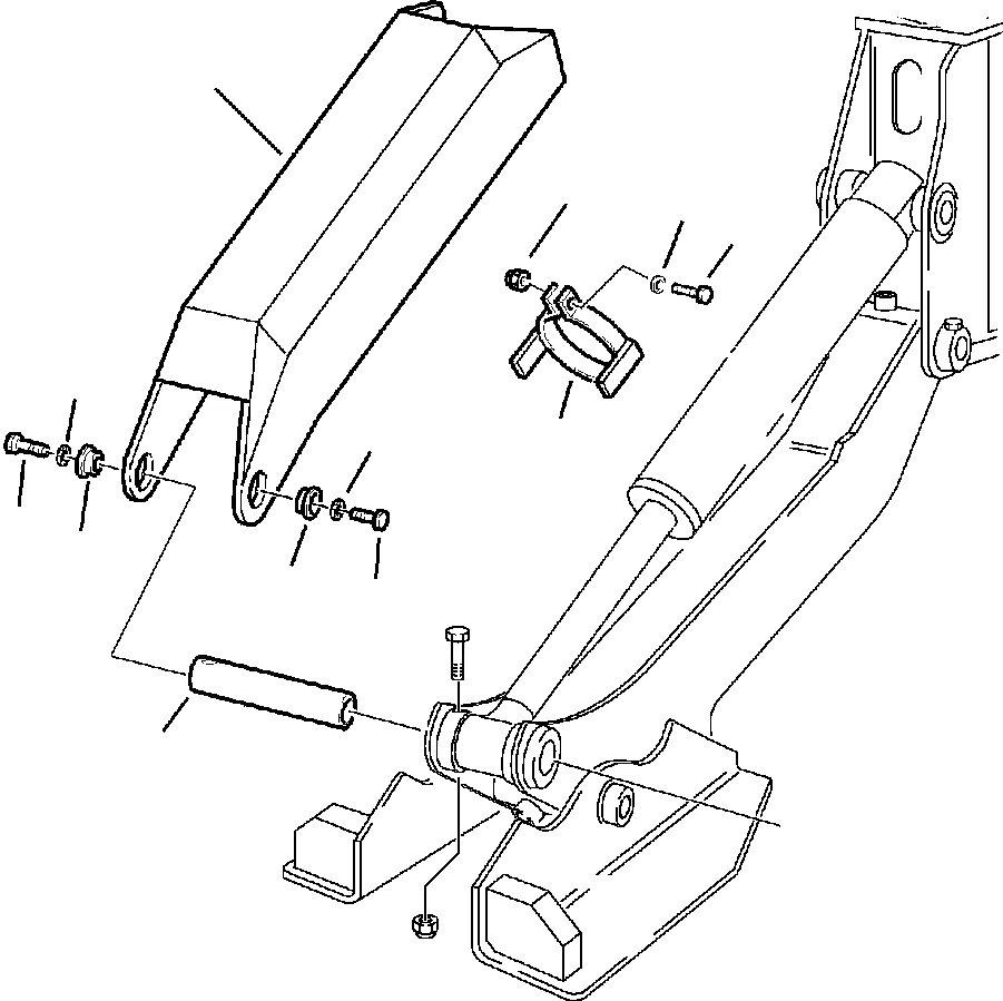
FIG. T-A ЦИЛИНДР ОПОРЫ ЧАСТИ КОРПУСА
№
Артикул
Название
Примечание
Количество
1
2938-70-2100
GUARD, CYLINDER
2
312702655
BUSHING
3
801015108
BOLT
4
802150510
WASHER, SPRING
5
2938-70-2120
CLAMP
6
01024-81045
7
01643-31032
WASHER
8
01598-01011
NUT
9
312702646
PIN
Выбрано товаров: 0