Качественные детали и логистика
Оригинальные и аналоговые запчасти с доставкой по России, Казахстану и Беларуси
©2022 PartSell ООО "Система" ИНН 2463123282 ОГРН 1212400004838
Центральный офис: г. Красноярск, Академика Киренского, д.87, пом.4
Телефон: 8 (800) 777-65-74 Email: zakaz@partsell.ru
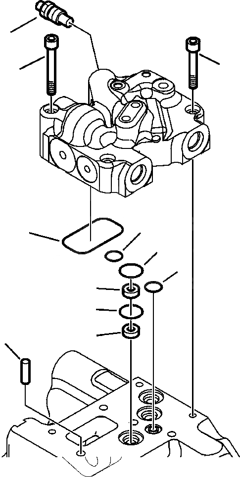
H-A ГИДР. НАСОС. КРЕПЛЕНИЕ КОНТРОЛЬНОГО КЛАПАНА (/) заводской номер A-A97
№
Артикул
Название
Примечание
Количество
1
208-27-11210
VALVE
2
NSS
BOLT
3
4
O-RING
5
07000-B1009
6
07000-B2014
7
FILTER
8
PIN
Выбрано товаров: 0