Запчасти Komatsu WB146-5 T-A ЭКСКАВАТ. СОЕДИНЕНИЕ КОВШАAGE ТЕЛЕСКОПИЧЕСК. РУКОЯТЬ РАБОЧЕЕ ОБОРУДОВАНИЕ

Схема запчастей Komatsu WB146-5 - T-A ЭКСКАВАТ. СОЕДИНЕНИЕ КОВШАAGE ТЕЛЕСКОПИЧЕСК. РУКОЯТЬ РАБОЧЕЕ ОБОРУДОВАНИЕ
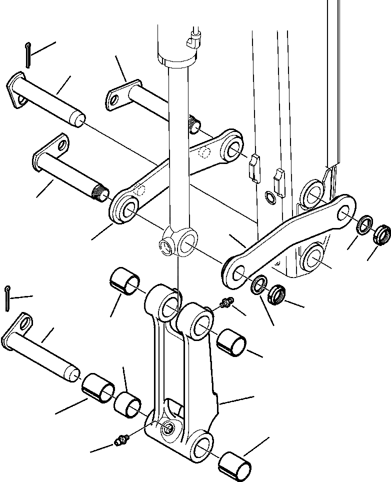
13
3
12
3
1
2
4
5
13
5
10
11
7
4
9
7
6
8
8
10
FIT
1:1
100%

Артикул

Название

Примечание

Количество

1

42N-856-2850

LEVER, LEFT

1

42N-856-2860

LEVER, LEFT

2

42N-856-2860

LEVER, RIGHT

3

42N-856-1760

PIN, 45 MM OD LEVER

4

37A-09-3Y037

WASHER

5

37A-09-3W505

NUT, CROWN

6

42N-856-1720

LEVER, BUCKET

7

37B-09-54009

BUSHING

8

37B-09-54006

BUSHING

9

37B-09-4C064

SPACER

10

21D-09-89140

FITTING, GREASE

11

42N-856-1730

PIN, 45 MM OD

12

42N-856-1470

PIN, 50 MM OD

13

04050-18060

PIN, COTTER

Выбрано товаров: 14