Качественные детали и логистика
Оригинальные и аналоговые запчасти с доставкой по России, Казахстану и Беларуси
©2022 PartSell ООО "Система" ИНН 2463123282 ОГРН 1212400004838
Центральный офис: г. Красноярск, Академика Киренского, д.87, пом.4
Телефон: 8 (800) 777-65-74 Email: zakaz@partsell.ru
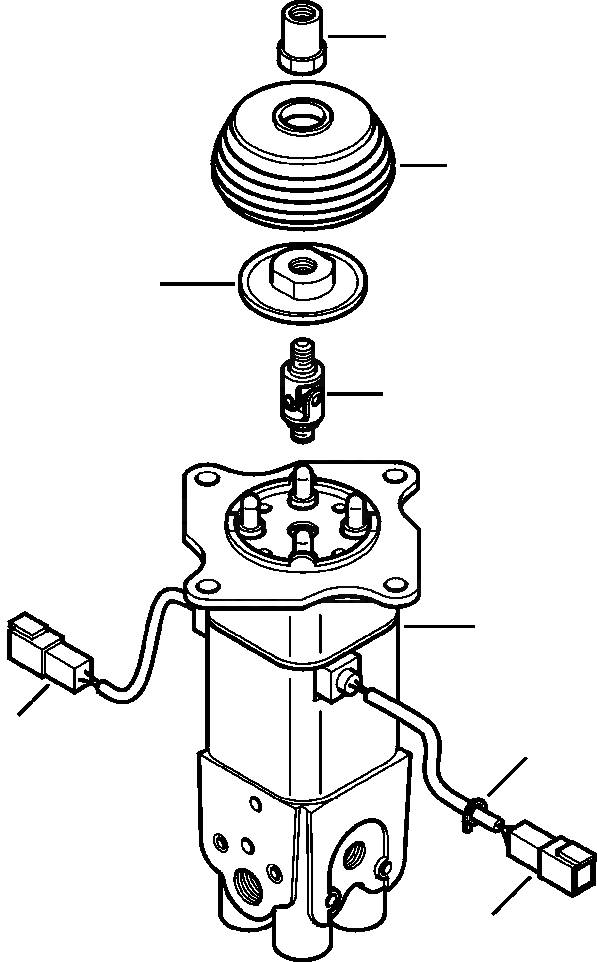
H-A КЛАПАН PPCУПРАВЛЕНИЕ ПОГРУЗКОЙ
№
Артикул
Название
Примечание
Количество
|$0
702-16-04411
VALVE, LOADER DETENT PPC
1
NSS
VALVE
2
702-16-71280
BOOT
3
702-16-71361
DISK
4
702-16-51240
JOINT
5
702-16-71441
NUT
6
08034-00010
CLAMP
7
08192-22810
CONNECTOR
Выбрано товаров: 0