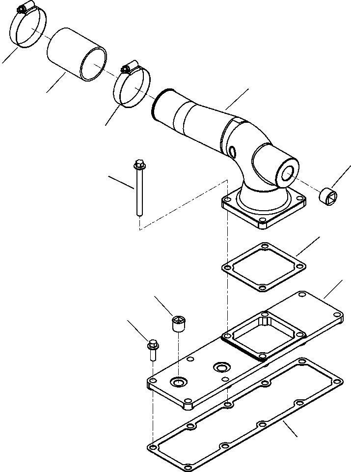
Запчасти Komatsu WB146PS-5 A-AA ТРУБОПРОВОД ВПУСКА ВОЗДУХА COVER ДВИГАТЕЛЬ

Схема запчастей Komatsu WB146PS-5 - A-AA ТРУБОПРОВОД ВПУСКА ВОЗДУХА COVER ДВИГАТЕЛЬ
2
9
3
2
1
5
7
8
10
4
6
FIT
1:1
100%

Артикул

Название

Примечание

Количество

1

6745-11-1910

PLUG, PIPE

2

6736-81-1810

CLAMP, HOSE

3

6735-11-4331

HOSE, PLAIN

4

6732-11-4160

BOLT (M8-1.25x25)

5

6734-11-5210

BOLT (M8-1.25x80)

6

6733-11-4861

GASKET, INTAKE MANIFOLD COVER

7

6754-11-4120

GASKET, CONNECTION

8

6732-11-4530

COVER, INTAKE MANIFOLD

9

6732-12-4120

CONNECTION, AIR CROSSOVER

10

6745-21-4110

PLUG, PIPE

Выбрано товаров: 10