Запчасти Komatsu WB150-2 ПЕРЕДНИЙ МОСТ (WD) (/) РАМА

Схема запчастей Komatsu WB150-2 - ПЕРЕДНИЙ МОСТ (WD) (/) РАМА
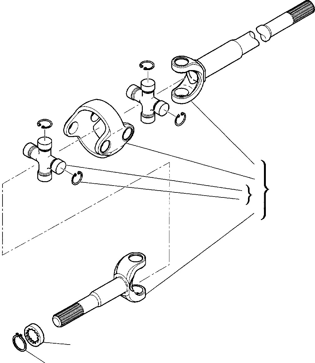
2
3
1
4
5
6
7
8
FIT
1:1
100%

Артикул

Название

Примечание

Количество

\0

200040634

FRONT AXLE, ASSY

1

CA0131561

DOUBLE JOINT

2

CA0046346

FORK (DIFFERENTIAL SIDE)

3

CA0519056

CENTRAL BODY

4

CA0046252

SPIDER

5

CA0040821

FORK (WHEEL HUB)

6

CA0040822

LOCK RING

7

CA0127592

SPACER

8

CA0024784

SNAP RING

Выбрано товаров: 9