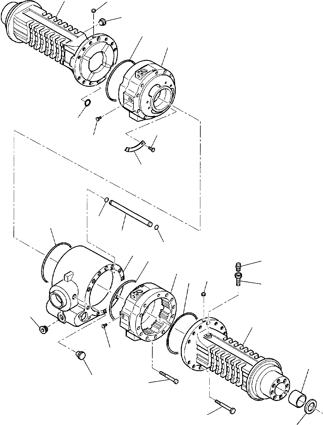
Запчасти Komatsu WB150-2 ЗАДН. МОСТ (/8) РАМА

Схема запчастей Komatsu WB150-2 - ЗАДН. МОСТ (/8) РАМА
1
2
3
4
5
20
18
17
19
6
4
7
6
8
4
10
9
2
4
11
3
12
17
13
21
16
15
14
FIT
1:1
100%

Артикул

Название

Примечание

Количество

\0

200040633

REAR AXLE, ASSY

1

CA0144350

BEAM TRUMPET

2

CA0021558

PLUG

3

CA0125280

PLUG

4

CA0028562

O-RING

5

CA0144336

BRAKE CYLINDER

6

CA0028526

O-RING

7

CA0140132

PIPE, AIR RECYCLE

8

CA0139544

CENTRAL BODY

9

CA0144337

BRAKE CYLINDER

10

CA0104988

BREATHER

11

CA0121618

EXTENSION FOR BREATHER

12

CA0144351

BEAM TRUMPET

13

CA0131954

BUSH

14

CA0025311

OIL SEAL

15

CA0021712

BOLT

16

CA0021314

BOLT

17

CA0030803

PLUG

18

CA0023838

RIVET

19

CA0140647

PLATE

20

CA0028500

O-RING

21

CA0021579

PLUG

Выбрано товаров: 22