Запчасти Komatsu WB150-2N FIG. H-PA PPC СИСТЕМА - PATTERN CHANGE КЛАПАН ГИДРАВЛИКА

Схема запчастей Komatsu WB150-2N - FIG. H-PA PPC СИСТЕМА - PATTERN CHANGE КЛАПАН ГИДРАВЛИКА
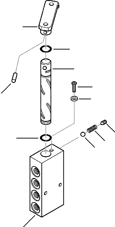
9
5
4
6
10
7
8
5
1
2
3
FIT
1:1
100%

Артикул

Название

Примечание

Количество

|$0

312693086

PATTERN CHANGE VALVE

|$1

845250082

VALVE, CHANGE

1

NSS

SPRING, RETURN

2

NSS

BALL, RETAINER

3

NSS

HOUSING, VALVE

4

NSS

SPOOL, VALVE

5

845250549

O-RING

6

801200643

SCREW

7

NSS

WASHER

8

801456085

PLUG, PORT

9

312693082

LEVER, ACTUATOR

10

802500135

PIN, SPLIT

Выбрано товаров: 12