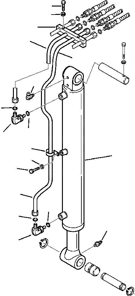
Запчасти Komatsu WB150-2N FIG. H8-A ТЕЛЕСКОПИЧЕСК. РУКОЯТЬ ТРУБЫ - ЦИЛИНДР ТРУБКАS ГИДРАВЛИКА

Схема запчастей Komatsu WB150-2N - FIG. H8-A ТЕЛЕСКОПИЧЕСК. РУКОЯТЬ ТРУБЫ - ЦИЛИНДР ТРУБКАS ГИДРАВЛИКА
9
10
8
11
12
14
4
3
2
17
1
16
15
12
6
7
13
5
FIT
1:1
100%

Артикул

Название

Примечание

Количество

2

500380509

ELBOW

3

855051113

O-RING

4

855051016

O-RING

5

500380509

ELBOW

6

855051113

O-RING

7

855051016

O-RING

8

312739063

CLAMP, TUBE

9

801015112

BOLT

10

802170002

WASHER

11

312739053

TUBE

12

312739054

TUBE

13

860010007

FITTING, GREASE

14

860030004

FITTING, GREASE

15

801015108

BOLT

16

802170002

WASHER

17

802660501

CLAMP

Выбрано товаров: 16