Качественные детали и логистика
Оригинальные и аналоговые запчасти с доставкой по России, Казахстану и Беларуси
©2022 PartSell ООО "Система" ИНН 2463123282 ОГРН 1212400004838
Центральный офис: г. Красноярск, Академика Киренского, д.87, пом.4
Телефон: 8 (800) 777-65-74 Email: zakaz@partsell.ru
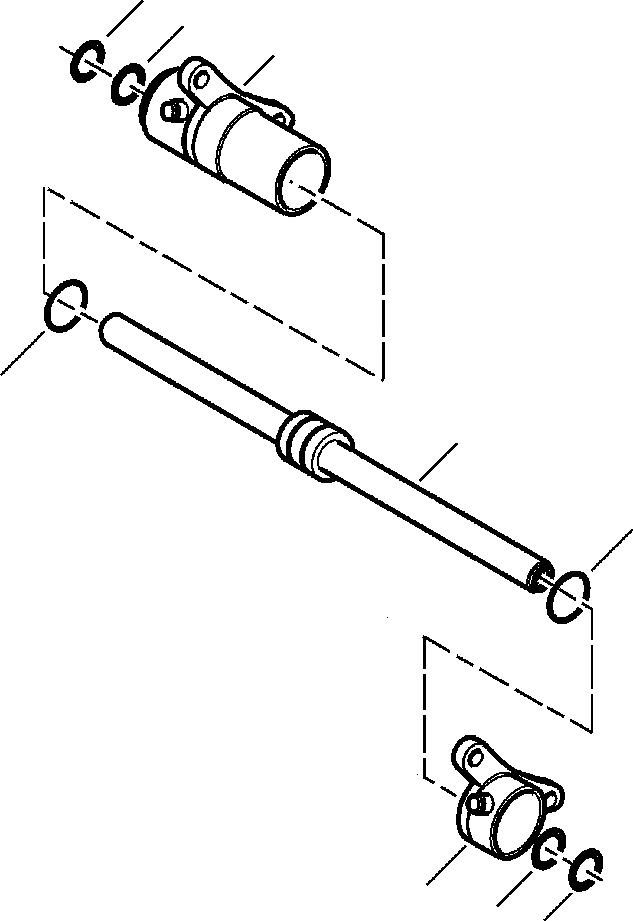
FIG. F-A ЗАДН. МОСТ - ЦИЛИНДР РУЛЕВ. УПР-Я
№
Артикул
Название
Примечание
Количество
|$1
CA0137958
STEERING CYLINDER
1
CA0049078
ROD
2
CA0049077
HEAD, CYLINDER
|$4
CA0049079
SEAL KIT
3
NSS
SEAL, PISTON
4
SEAL, ROD
5
WIPER, ROD
6
BARREL, CYLINDER
Выбрано товаров: 0