Запчасти Komatsu WB150AWS-2N FIG. H-PA PPC СИСТЕМА - РУКОЯТЬ И МОЛОТ СОЛЕНОИДНЫЙ КЛАПАН ГИДРАВЛИКА

Схема запчастей Komatsu WB150AWS-2N - FIG. H-PA PPC СИСТЕМА - РУКОЯТЬ И МОЛОТ СОЛЕНОИДНЫЙ КЛАПАН ГИДРАВЛИКА
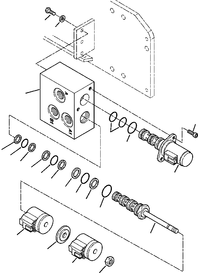
15
16
11
4
3
2
10
8
10
9
1
7
9
9
7
9
6
5
12
13
12
14
FIT
1:1
100%

Артикул

Название

Примечание

Количество

|$0

845240005

VALVE, SOLENOID

1

845241003

VALVE, SOLENOID

|$2

845241025

KIT, SEAL

2

NSS

O-RING

3

NSS

O-RING

4

845241008

BOLT

5

845241009

VALVE, SOLENOID

|$7

845241024

KIT, SEAL

6

NSS

O-RING

7

NSS

O-RING

8

NSS

O-RING

9

NSS

RING, BACK UP

10

NSS

RING, BACK UP

11

NSS

HOUSING, VALVE

12

845241010

COIL

13

NSS

SPACER, COIL

14

NSS

NUT, JAM

15

01010-50820

BOLT

16

01643-30823

WASHER

Выбрано товаров: 19