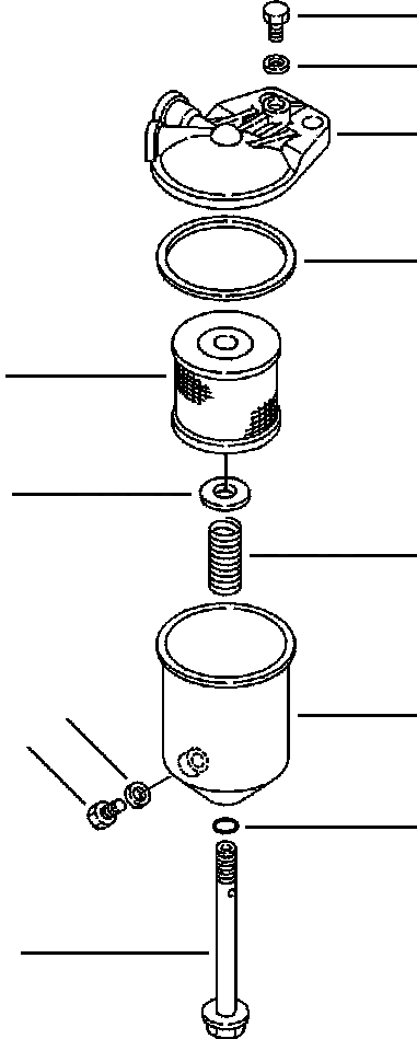
Запчасти Komatsu WB150AWS-2N FIG. A-A TIER I ИЛИ II ДВИГАТЕЛЬ - ТОПЛИВН. ВОДООТДЕЛИТЕЛЬ ДВИГАТЕЛЬ

Схема запчастей Komatsu WB150AWS-2N - FIG. A-A TIER I ИЛИ II ДВИГАТЕЛЬ - ТОПЛИВН. ВОДООТДЕЛИТЕЛЬ ДВИГАТЕЛЬ
11
7
8
2
1
5
10
7
9
6
3
4
FIT
1:1
100%

Артикул

Название

Примечание

Количество

|$2

YM12032455750

FUEL WATER SEPARATOR

1

YM12032455760

ELEMENT, FUEL OIL

2

YMX0582810173

GASKET

3

YMX0580121073

O-RING

4

YMX0311121522

BOLT, CENTER

5

YMX0300120414

GASKET

6

YMX0313080110

PLUG

7

YMX0588080273

GASKET

8

YMX2740134001

COVER

9

YMX2540025002

CASE

10

YMX0600160122

SPRING

11

YMX0314080110

PLUG

Выбрано товаров: 12