Запчасти Komatsu WB150AWS-2N FIG. T-A M МОЛОТ - EXTERNAL ЧАСТИ РАБОЧЕЕ ОБОРУДОВАНИЕ

Схема запчастей Komatsu WB150AWS-2N - FIG. T-A M МОЛОТ - EXTERNAL ЧАСТИ РАБОЧЕЕ ОБОРУДОВАНИЕ
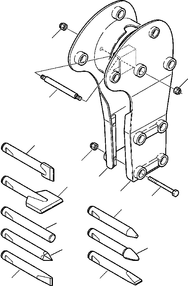
1
1
4
9
3
2
10
2
5
6
11
7
12
13
8
FIT
1:1
100%

Артикул

Название

Примечание

Количество

|$0

827010232

M60 HAMMER

1

827010289

NUT, LOCK

2

827010423

HAMMER BODY

3

827010289

NUT, LOCK

4

827010290

SPACER

5

827010288

BOLT

6

827010251

POINT, DOUBLE CONE

7

827010250

POINT, CAP

8

827010234

POINT, CHISEL

9

827010248

POINT, ASPHALT CUTTER

10

827010247

POINT, SHOVEL

11

827010245

POINT, FLAT

12

827010246

POINT, PYRAMID

13

827010249

POINT, 90В° CHISEL

Выбрано товаров: 14