Качественные детали и логистика
Оригинальные и аналоговые запчасти с доставкой по России, Казахстану и Беларуси
©2022 PartSell ООО "Система" ИНН 2463123282 ОГРН 1212400004838
Центральный офис: г. Красноярск, Академика Киренского, д.87, пом.4
Телефон: 8 (800) 777-65-74 Email: zakaz@partsell.ru
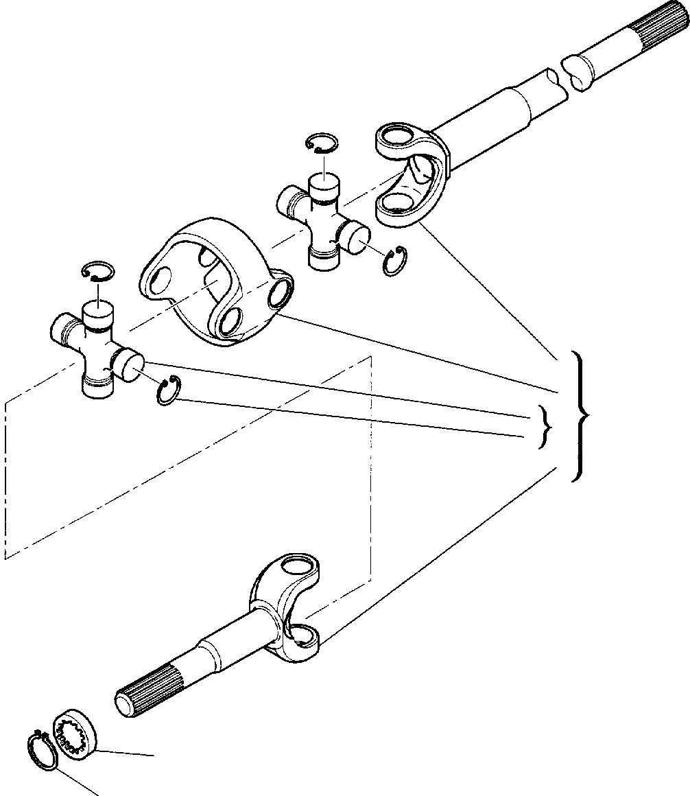
ПЕРЕДНИЙ МОСТ (/)
№
Артикул
Название
Примечание
Количество
\0
200040634
FRONT AXLE, ASSY
1
CA0131561
DOUBLE JOINT
2
CA0046346
FORK (DIFFERENTIAL SIDE)
3
CA0519056
CENTRAL BODY
4
CA0046252
SPIDER
5
CA0040821
FORK (WHEEL HUB)
6
CA0040822
LOCK RING
7
CA0127592
SPACER
8
CA0024784
SNAP RING
Выбрано товаров: 0