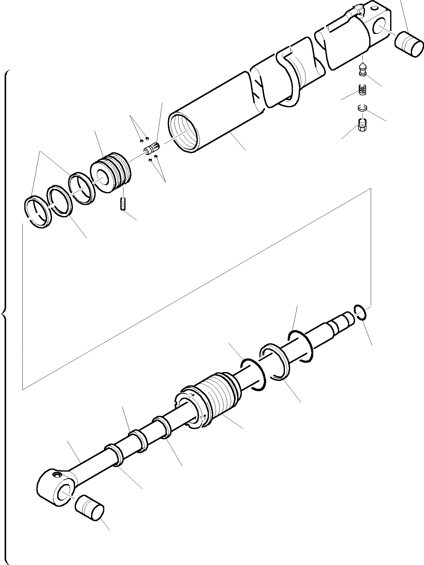
Запчасти Komatsu WB150WSC-2 ЦИЛИНДР СТРЕЛЫ(ДЛЯ СТРЕЛА С БОКОВ. СМЕЩЕНИЕМ) РАБОЧЕЕ ОБОРУДОВАНИЕ

Схема запчастей Komatsu WB150WSC-2 - ЦИЛИНДР СТРЕЛЫ(ДЛЯ СТРЕЛА С БОКОВ. СМЕЩЕНИЕМ) РАБОЧЕЕ ОБОРУДОВАНИЕ
2
3
8
4
9
5
10
6
21
7
9
11
22
19
17
20
15
18
12
13
16
14
2
1
FIT
1:1
100%

Артикул

Название

Примечание

Количество

1

395001009

JACK, ASSY

2

390658014

BUSHING

3

312305603

PIPE STOPPER

4

804030055

SPRING

5

855150037

GASKET

6

390022007

PLUG

7

395081013

CYLINDER

8

391709001

BRAKE PIN

9

805750022

BALL

10

395272014

PISTON

11

801476086

GRUB SCREW

12

395302013

CYLINDER HEAD

13

395184015

SHAFT

\13

878000489

GASKET KIT

14

SCRAPER RING

15

GASKET

16

SCRAPER RING

17

O-RING

18

RING

19

O-RING

20

O-RING

21

RING

22

PISTON GASKET

Выбрано товаров: 23