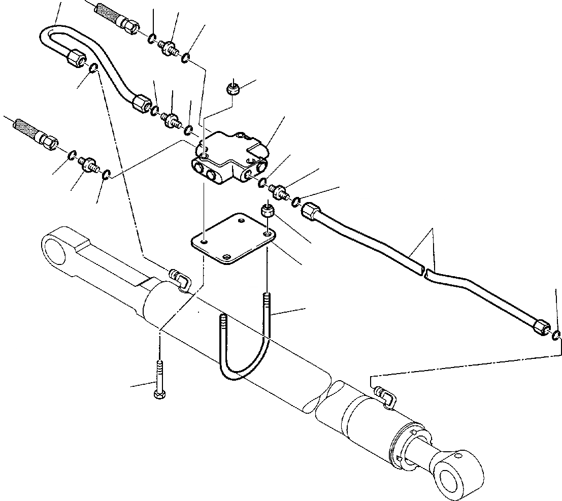
Запчасти Komatsu WB91R-2 ГИДРОЛИНИЯ (ЦИЛИНДР ОПРОКИД-Я КОВША) (КЛАПАН БЕЗОПАСНОСТИ) (ОПЦИОНН.) ГИДРАВЛИКА РАБОЧЕЕ ОБОРУДОВАНИЕ

Схема запчастей Komatsu WB91R-2 - ГИДРОЛИНИЯ (ЦИЛИНДР ОПРОКИД-Я КОВША) (КЛАПАН БЕЗОПАСНОСТИ) (ОПЦИОНН.) ГИДРАВЛИКА РАБОЧЕЕ ОБОРУДОВАНИЕ
12
2
4
2
3
4
9
2
3
13
1
3
4
4
2
10
3
11
7
5
13
6
8
FIT
1:1
100%

Артикул

Название

Примечание

Количество

1

845230004

VALVE

2

500380076

UNION

3

855670003

O RING

4

855051014

O.R.

5

312637605

VALVE SUPPORT

6

312637601

FASTENER

7

801880001

SELF-LOCKING NUT

8

801015551

BOLT

9

801880408

SELF-LOCKING NUT

10

312637061

TIPPING PIPE, R.H.

11

312637062

TIPPING PIPE, L.H.

12

312637063

TIPPING PIPE

13

855051014

O.R.

Выбрано товаров: 13