Запчасти Komatsu WB91R-2 ГИДРОЛИНИЯ (ЦИЛИНДР РУКОЯТИ) (КЛАПАН БЕЗОПАСНОСТИ) (ОПЦИОНН.) ГИДРАВЛИКА РАБОЧЕЕ ОБОРУДОВАНИЕ

Схема запчастей Komatsu WB91R-2 - ГИДРОЛИНИЯ (ЦИЛИНДР РУКОЯТИ) (КЛАПАН БЕЗОПАСНОСТИ) (ОПЦИОНН.) ГИДРАВЛИКА РАБОЧЕЕ ОБОРУДОВАНИЕ
17
16
16
A
20
14
3
11
4
15
2
9
10
1
13
11
18
19
12
10
15
20
9
7
8
14
13
17
5
6
FIT
1:1
100%

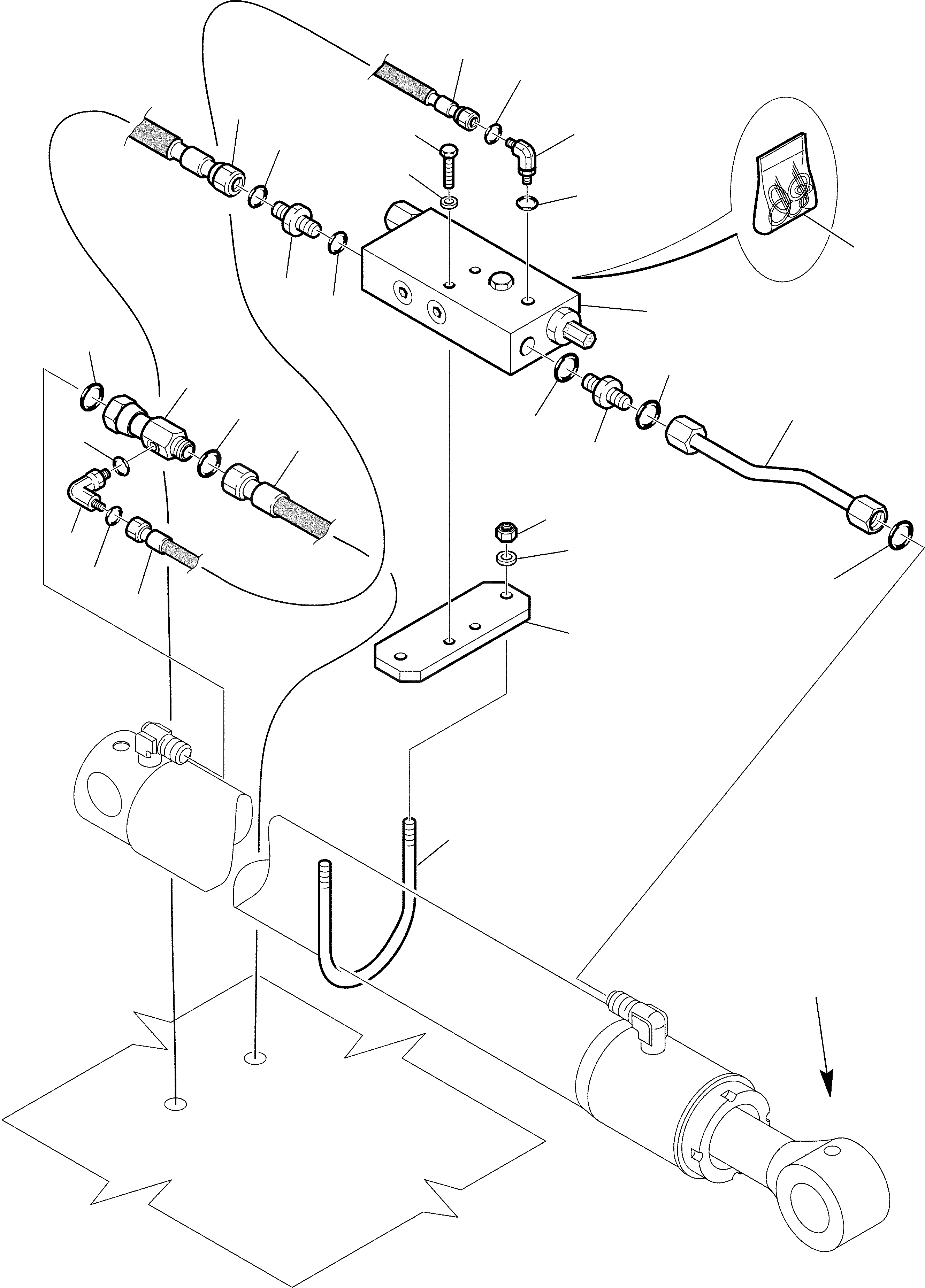
Артикул

Название

Примечание

Количество

1

845250042

VALVE

2

845250516

GASKET KIT

3

801015547

BOLT

4

802770001

WASHER

5

312731607

VALVE SUPPORT

6

312731603

RETAINER

7

801880001

SELF-LOCKING NUT

8

802170002

WASHER

9

500380113

UNION

10

885051119

O-RING

11

885051018

O-RING

12

312731072

PIPE

13

885051018

O-RING

14

500380501

ELBOW

15

885051111

O-RING

16

885051011

O-RING

17

392430049

HOSE

18

312731079

'T'' UNION

19

885051018

O-RING

20

392860036

HOSE

Выбрано товаров: 20