Качественные детали и логистика
Оригинальные и аналоговые запчасти с доставкой по России, Казахстану и Беларуси
©2022 PartSell ООО "Система" ИНН 2463123282 ОГРН 1212400004838
Центральный офис: г. Красноярск, Академика Киренского, д.87, пом.4
Телефон: 8 (800) 777-65-74 Email: zakaz@partsell.ru
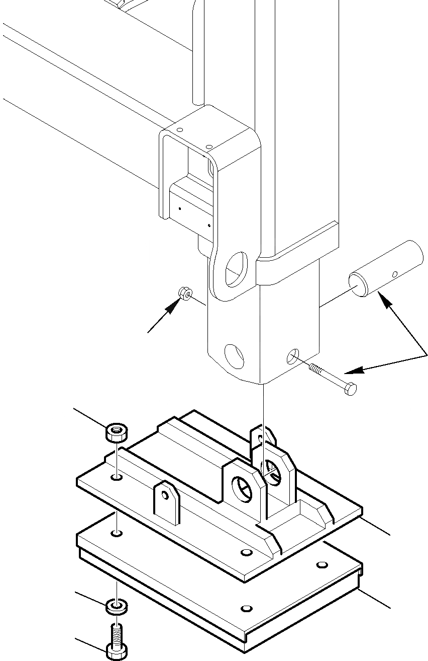
STABILIZER FOOT (ОПЦИОНН.)
№
Артикул
Название
Примечание
Количество
1
42N-46-11420
STABILIZER FOOT
2
42N-46-11430
RUBBER PAD
3
01016-51645
BOLT
4
01643-11645
WASHER
5
01580-11613
NUT
Выбрано товаров: 0