Качественные детали и логистика
Оригинальные и аналоговые запчасти с доставкой по России, Казахстану и Беларуси
©2022 PartSell ООО "Система" ИНН 2463123282 ОГРН 1212400004838
Центральный офис: г. Красноярск, Академика Киренского, д.87, пом.4
Телефон: 8 (800) 777-65-74 Email: zakaz@partsell.ru
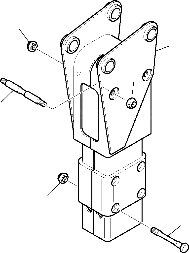
МОЛОТ HP (/)
№
Артикул
Название
Примечание
Количество
\0
42N-989-1150
HAMMER, HP600
1
42N-989-2660
HOUSING
2
42N-989-2670
SPACER
3
827010268
NUT, STOP
4
827010405
SCREW
Выбрано товаров: 0