Запчасти Komatsu WB93R-5 STABILIZER FOOT РАБОЧЕЕ ОБОРУДОВАНИЕ

Схема запчастей Komatsu WB93R-5 - STABILIZER FOOT РАБОЧЕЕ ОБОРУДОВАНИЕ
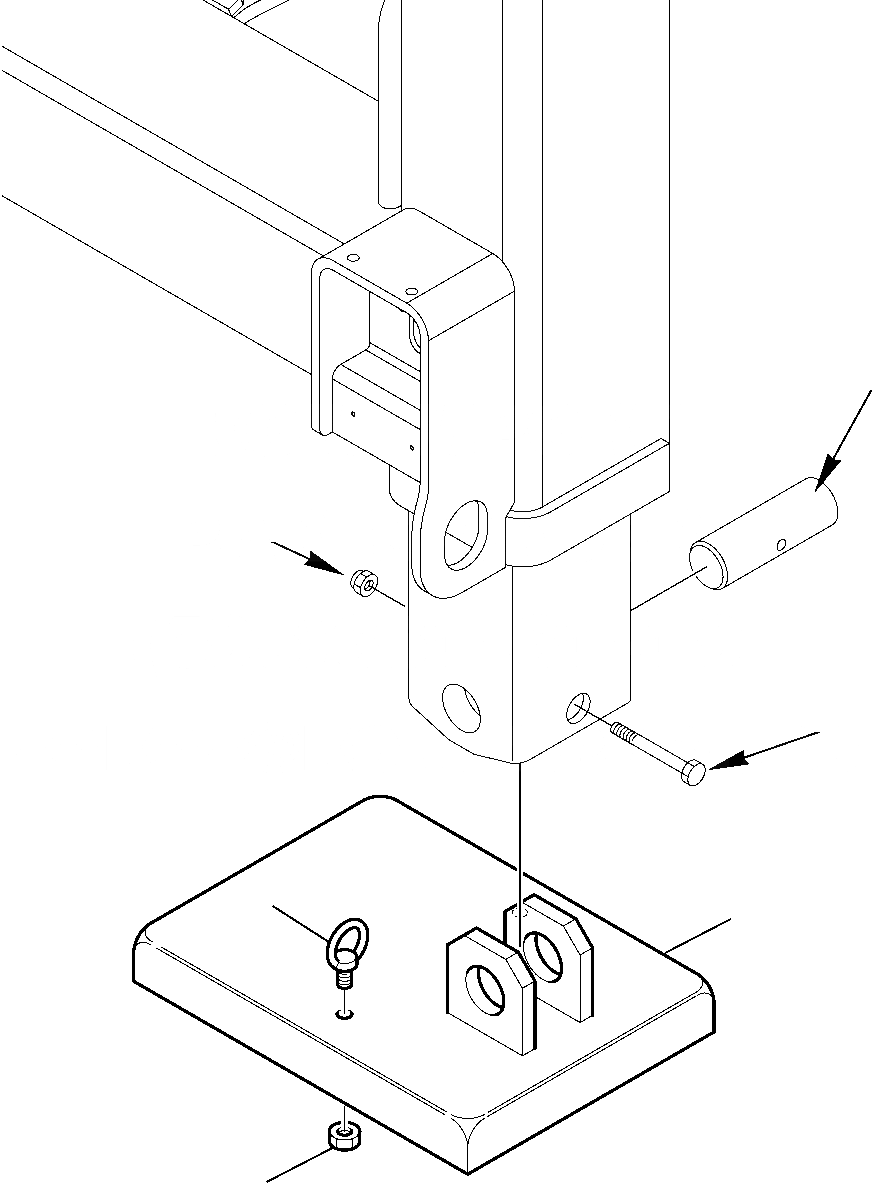
1
2
3
A
A
A
FIT
1:1
100%

Артикул

Название

Примечание

Количество

1

42N-46-11510

STABILIZER FOOT

2

42N-46-11440

EYE-BOLT

3

01580-11210

NUT

Выбрано товаров: 0