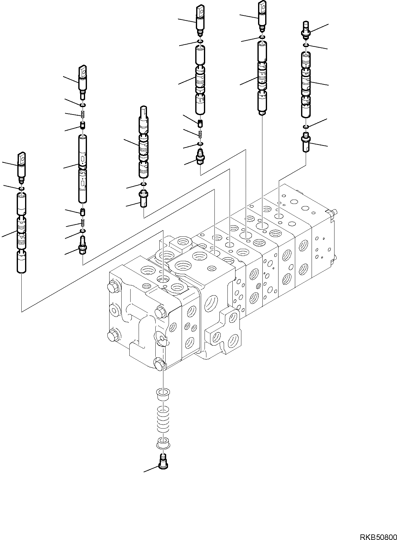
Запчасти Komatsu WB93R-5E0 8-СЕКЦИОНН. УПРАВЛЯЮЩ. КЛАПАН МЕХАНИЧ. УПРАВЛ-ЕS (/) РАБОЧЕЕ ОБОРУДОВАНИЕ ГИДРАВЛИКА

Схема запчастей Komatsu WB93R-5E0 - 8-СЕКЦИОНН. УПРАВЛЯЮЩ. КЛАПАН МЕХАНИЧ. УПРАВЛ-ЕS (/) РАБОЧЕЕ ОБОРУДОВАНИЕ ГИДРАВЛИКА
21
15
24
22
17
26
6
14
23
20
8
19
10
26
18
9
11
25
17
3
16
5
4
13
12
9
10
1
8
7
2
FIT
1:1
100%

Артикул

Название

Примечание

Количество

\0

723-18-17104

CONTROL VALVE, ASSEMBLY

\0

723-18-17105

CONTROL VALVE, ASSEMBLY

1

SPOOL

2

700-22-11321

PLUG

3

PLUG

4

O-RING

5

SPOOL

6

PLUG

7

PLUG

8

O-RING

9

POPPET

10

SPRING

11

SPOOL

12

PLUG

13

O-RING

14

SPOOL

15

PLUG

16

PLUG

17

O-RING

18

SPRING

19

POPPET

20

SPOOL

21

PLUG

22

O-RING

23

SPOOL

24

PLUG

25

PLUG

26

O-RING

Выбрано товаров: 28