Запчасти Komatsu WB93R-5E0 ВОЗВРАТ В РАБОЧ. ПОЛОЖ-Е РАБОЧЕЕ ОБОРУДОВАНИЕ

Схема запчастей Komatsu WB93R-5E0 - ВОЗВРАТ В РАБОЧ. ПОЛОЖ-Е РАБОЧЕЕ ОБОРУДОВАНИЕ
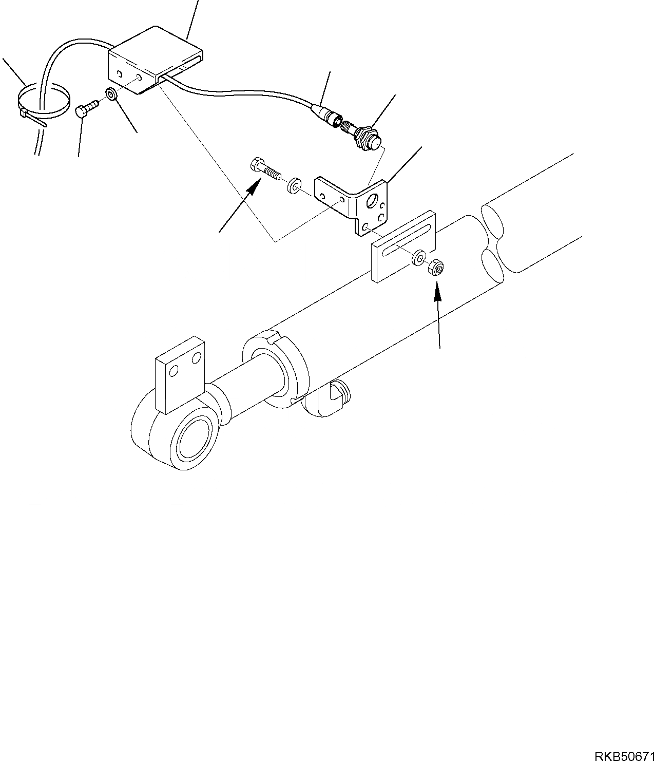
2
7
6
5
1
4
3
A
A
FIT
1:1
100%

Артикул

Название

Примечание

Количество

1

42N-43-13610

BENT

2

42N-43-13620

PROTECTION

3

01010-80616

BOLT

4

01643-10623

WASHER

5

42N-06-15580

SENSOR

6

42N-06-15490

WIRING HARNESS

7

21D-06-13220

BAND

Выбрано товаров: 0