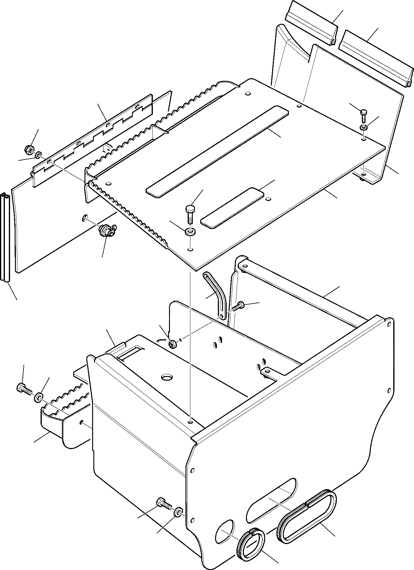
Запчасти Komatsu WB93S-5 АККУМУЛЯТОР КОЖУХ ЧАСТИ КОРПУСА И КАБИНА

Схема запчастей Komatsu WB93S-5 - АККУМУЛЯТОР КОЖУХ ЧАСТИ КОРПУСА И КАБИНА
15
14
12
1
13
2
7
3
11
8
9
6
10
4
16
17
18
5
2
20
9
10
19
9
10
22
21
FIT
1:1
100%

Артикул

Название

Примечание

Количество

1

42N-54-12860

COVER

2

21D-09-24160

NUT, STOP

3

01643-10623

WASHER

4

42N-54-19230

LOCK, BLOCK

5

42N-54-18930

GASKET

6

42N-54-12851

COVER

7

42N-54-12470

ANTISLIP

8

42N-54-12480

ANTISLIP

9

01010-81225

BOLT

10

01643-11232

WASHER

11

42N-54-12951

GUARD

12

01010-81020

BOLT

13

01643-11032

WASHER

14

42N-54-18920

GASKET

15

42N-54-18910

GASKET

16

42N-54-12812

BATTERY SUPPORT

17

42N-54-12941

PLATE

18

01010-80620

BOLT

19

42N-54-12841

STEP

20

42N-54-12871

PLATE

21

42N-54-12990

GASKET

22

42N-54-12490

GASKET

Выбрано товаров: 22