Запчасти Komatsu WB93S-5 -СЕКЦ. УПРАВЛЯЮЩ. КЛАПАН МЕХАНИЧ. УПРАВЛ-ЕS (/) ГИДРАВЛИКА РАБОЧЕЕ ОБОРУДОВАНИЕ

Схема запчастей Komatsu WB93S-5 - -СЕКЦ. УПРАВЛЯЮЩ. КЛАПАН МЕХАНИЧ. УПРАВЛ-ЕS (/) ГИДРАВЛИКА РАБОЧЕЕ ОБОРУДОВАНИЕ
30
27
32
24
21
15
28
25
29
22
17
26
6
23
14
32
20
8
31
10
19
9
11
18
17
3
5
16
13
4
9
12
10
1
8
7
2
FIT
1:1
100%

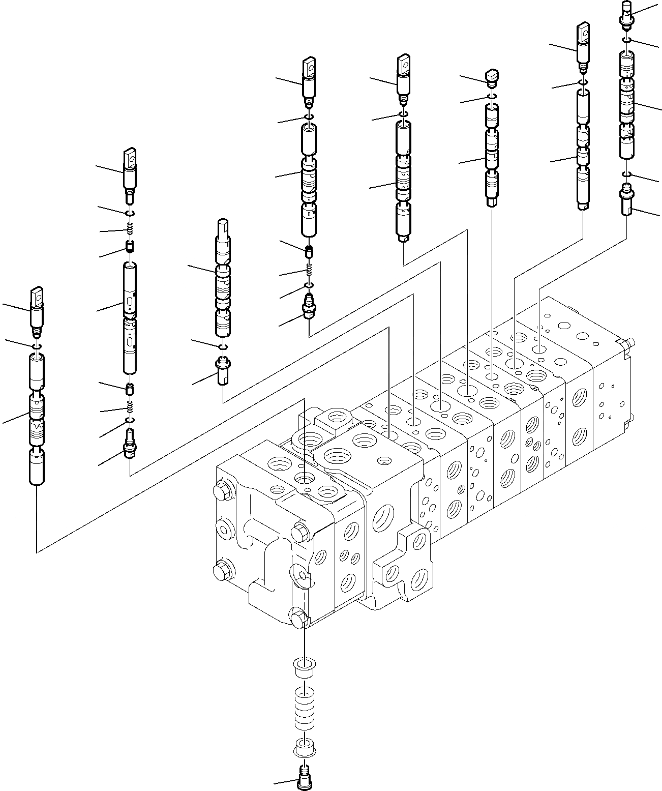
Артикул

Название

Примечание

Количество

\0

723-1A-15505

CONTROL VALVE, ASSY.

1

SPOOL

2

700-22-11321

PLUG

3

PLUG

4

O-RING

5

SPOOL

6

PLUG

7

PLUG

8

O-RING

9

VALVE

10

SPRING

11

SPOOL

12

PLUG

13

O-RING

14

SPOOL

15

PLUG

16

PLUG

17

O-RING

18

SPRING

19

VALVE

20

SPOOL

21

PLUG

22

O-RING

23

VALVE

24

PLUG

25

O-RING

26

SPOOL

27

PLUG

28

O-RING

29

SPOOL

30

PLUG

31

PLUG

32

O-RING

Выбрано товаров: 33