Качественные детали и логистика
Оригинальные и аналоговые запчасти с доставкой по России, Казахстану и Беларуси
©2022 PartSell ООО "Система" ИНН 2463123282 ОГРН 1212400004838
Центральный офис: г. Красноярск, Академика Киренского, д.87, пом.4
Телефон: 8 (800) 777-65-74 Email: zakaz@partsell.ru
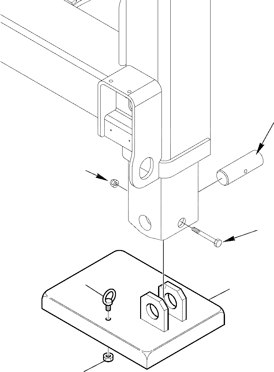
STABILIZER FOOT (СТАНДАРТН.)
№
Артикул
Название
Примечание
Количество
1
42N-46-11510
STABILIZER FOOT
2
42N-46-11440
EYE-BOLT
3
01580-11210
NUT
|A
SEE FIG. 7210
Выбрано товаров: 0