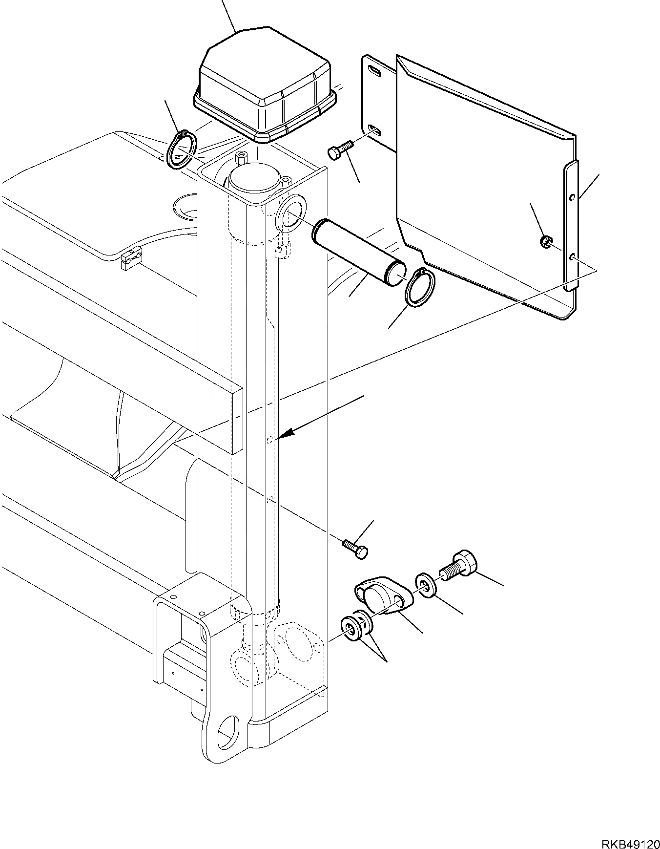
Запчасти Komatsu WB93S-5E0 ОПОРА (/) РАБОЧЕЕ ОБОРУДОВАНИЕ

Схема запчастей Komatsu WB93S-5E0 - ОПОРА (/) РАБОЧЕЕ ОБОРУДОВАНИЕ
1
3
4
5
6
8
2
3
7
10
11
9
12
A
FIT
1:1
100%

Артикул

Название

Примечание

Количество

1

42N-54-19450

COVER

2

42N-46-11410

PIN

3

04064-04518

RING

4

42N-46-11260

PROTECTION

5

42N-46-11270

PROTECTION

6

01016-51030

BOLT

7

01016-51040

BOLT

8

21D-09-24190

NUT

9

42N-46-11520

PLATE

10

01016-52045

BOLT

11

37A-09-3Y015

WASHER

12

37B-09-4E091

SPACER

Выбрано товаров: 12