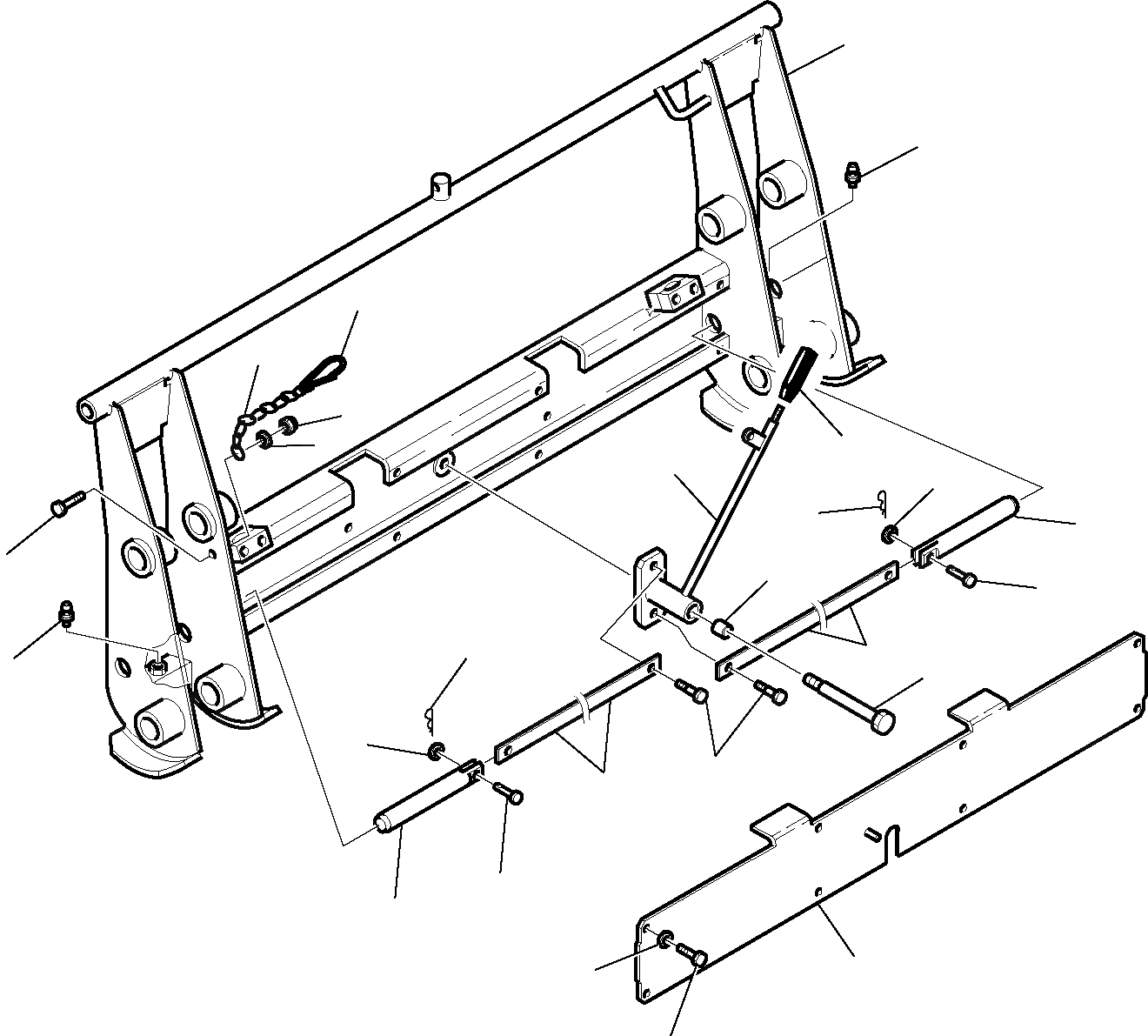
Запчасти Komatsu WB97R-5 ОТВАЛ (С МЕХАНИЧ. БЫСТРОСЪЕМН. МЕХ-М) (TUV) (/) РАБОЧЕЕ ОБОРУДОВАНИЕ

Схема запчастей Komatsu WB97R-5 - ОТВАЛ (С МЕХАНИЧ. БЫСТРОСЪЕМН. МЕХ-М) (TUV) (/) РАБОЧЕЕ ОБОРУДОВАНИЕ
1
2
3
4
7
6
8
9
16
17
14
5
10
15
17
12
2
11
16
13
12
15
14
20
18
19
FIT
1:1
100%

Артикул

Название

Примечание

Количество

1

42N-879-1450

FRAME, QUICK COUPLING

2

21D-09-89140

GREASE NIPPLE

3

42N-879-1330

HOOK

4

42N-879-1340

CHAIN

5

01016-50830

BOLT

6

01643-10823

WASHER

7

21D-09-24180

NUT

\7

42N-879-1170

LEVER, ASSY.

8

22L-09-R3780

KNOB

9

42N-879-1180

LEVER

10

09350-02525

BUSHING

11

42N-879-1320

PIN

12

42N-879-1380

PLATE

13

42N-879-1350

PIN

14

42N-879-1310

PIN

15

37B-09-45008

PIN

16

37A-09-3Y029

WASHER

17

04050-14040

PIN, COTTER

18

42N-879-1160

COVER

19

01010-80820

BOLT

20

37A-09-46008

WASHER

Выбрано товаров: 21