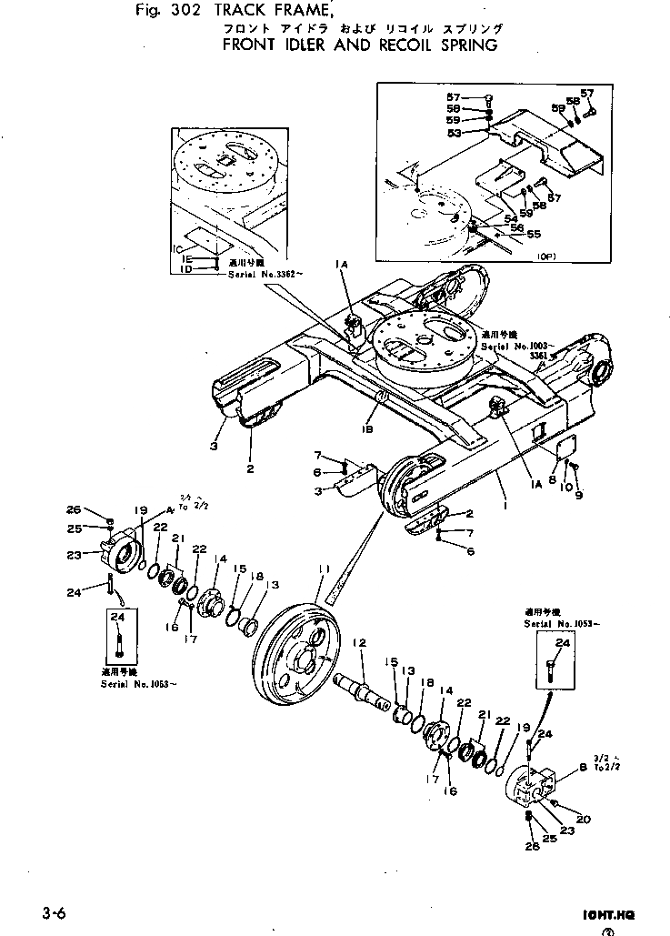
Запчасти Komatsu 10-HT-1 ГУСЕНИЧНАЯ РАМА¤ ПЕРЕДН. ЛЕНИВЕЦ И ПРУЖИНА (/) ХОДОВАЯ

Схема запчастей Komatsu 10-HT-1 - ГУСЕНИЧНАЯ РАМА¤ ПЕРЕДН. ЛЕНИВЕЦ И ПРУЖИНА (/) ХОДОВАЯ
FIT
1:1
100%

Артикул

Название

Примечание

Количество

1

201-30-11111

FRAME

1A

201-30-11160

SUPPORT (WELDED)

1B

201-30-11120

HOOK (WELDED)

1C

201-30-11180

COVER

1D

01010-31225

BOLT

1E

01602-01236

WASHER

2

201-30-12111

GUARD

3

201-30-12121

GUARD

6

01010-31430

BOLT

7

01602-01442

WASHER

8

201-30-17110

COVER

9

01010-31030

BOLT

|9

01010-31020

BOLT

10

01602-01030

WASHER

|11

201-30-00011

IDLER ASS'Y

|11

201-30-00010

IDLER ASS'Y

11

101-30-11131

IDLER

|11

201-30-13180

IDLER

12

101-30-11141

SHAFT

|12

201-30-13190

SHAFT

|13

201-30-00020

BUSHING ASS'Y

13

201-30-13141

BUSHING

14

201-30-13170

BUSHING

15

100-30-13150

PIN

16

01010-30820

BOLT

17

01602-00825

WASHER

18

07000-03062

O-RING (KIT)

19

07000-03032

O-RING (KIT)

20

201-30-13130

BOLT

|21

110-30-00045

FLOATING SEAL ASS'Y

21

101-30-00130

SEAL RING ASS'Y

|21

RING,SEAL

22

101-30-00140

O-RING ASS'Y

|22

O-RING

23

201-30-13111

SUPPORT

24

201-30-13121

BOLT

|24

201-30-13120

BOLT

25

01602-01442

WASHER

26

01583-01408

NUT

27

101-30-21132

ARM

28

01010-31230

BOLT

29

01602-01236

WASHER

30

01090-31275

BOLT

31

01582-01210

NUT

32

01602-01236

WASHER

33

07049-01215

PLUG

34

07046-03520

PLUG

35

201-30-14210

ROD

36

201-30-14220

CYLINDER

37

101-30-34160

PISTON

|37

201-30-14290

PISTON

38

04064-02512

RING

39

101-30-34210

PACKING

40

101-30-34220

RING

41

201-30-14271

SPACER

42

201-30-14280

LUBRICATOR

43

07020-00900

FITTING

44

195-30-13180

CAP

45

07000-03042

O-RING

46

07000-03032

O-RING

47

111-30-11751

SPRING

48

201-30-14310

SPACER

49

201-30-14230

FRAME

50

201-30-14240

COVER

51

01010-31850

BOLT

52

01602-01854

WASHER

Выбрано товаров: 66