Запчасти Komatsu 10-HT-1 ГИДР. БАК.(№-) ГИДРАВЛИКА

Схема запчастей Komatsu 10-HT-1 - ГИДР. БАК.(№-) ГИДРАВЛИКА
FIT
1:1
100%

Артикул

Название

Примечание

Количество

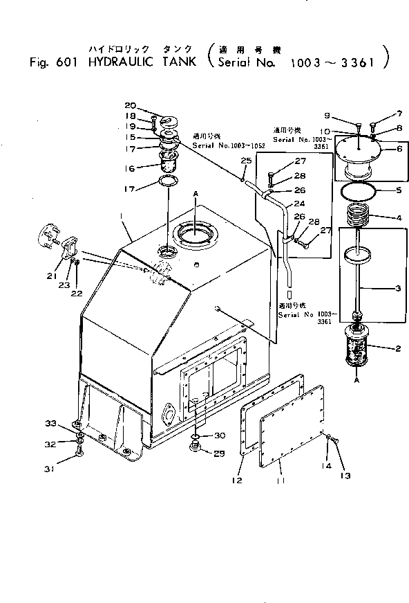
|1

201-60-00013

TANK ASS'Y

|$$2

(201-60-00014{201-62-12512}

|$$3

01010-31235(3)){01602-01236(3))}

|1

201-60-00012

TANK ASS'Y

|1

201-60-00011

TANK ASS'Y

|1

201-60-00010

TANK ASS'Y

1

201-60-12112

TANK

|1

201-60-12111

TANK

2

201-60-12121

STRAINER

3

201-60-12131

ROD

|$$11

(201-60-12132{201-60-12142)}

4

154-60-12210

SPRING

5

07000-02140

O-RING (KIT)

6

201-60-12141

COVER

|$$15

(201-60-12142{201-60-12132)}

7

01010-31230

BOLT

8

01602-01236

WASHER

9

07060-01230

BOLT

10

07002-01223

O-RING (KIT)

11

201-60-12151

COVER

12

201-60-12161

GASKET (KIT)

13

01010-31025

BOLT

14

01602-01030

WASHER

15

201-60-12171

FILLER

16

22-451231-21

SCREEN

17

21-531152-01

GASKET (KIT)

18

01220-30516

SCREW

19

01601-00513

WASHER

20

201-60-12190

CAP ASS'Y

|20

22-451240-01

CAP

21

155-60-12300

LEVEL GAUGE ASS'Y

22

01580-01008

NUT

23

01602-01030

WASHER

24

201-60-12180

TUBE

25

04059-01010

WIRE

26

08036-11210

CLIP

27

01010-30816

BOLT

28

01602-00825

WASHER

29

07044-13620

PLUG

30

07002-03634

O-RING (KIT)

31

01010-31640

BOLT

|31

01010-31635

BOLT

32

01602-01648

WASHER

33

01643-01645

WASHER

|33

01640-01626

WASHER

Выбрано товаров: 45