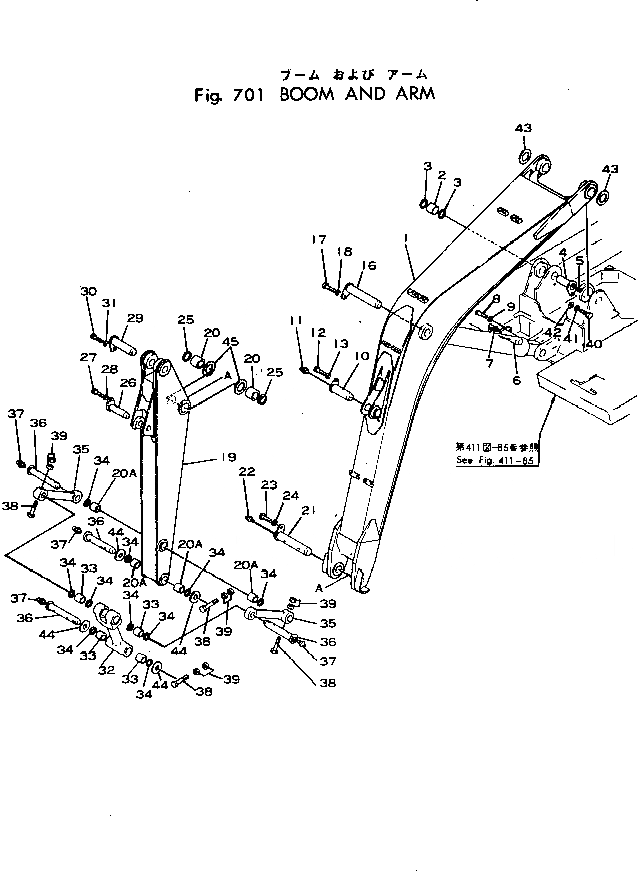
Запчасти Komatsu 10-HT-1 СТРЕЛА И РУКОЯТЬ РАБОЧЕЕ ОБОРУДОВАНИЕ

Схема запчастей Komatsu 10-HT-1 - СТРЕЛА И РУКОЯТЬ РАБОЧЕЕ ОБОРУДОВАНИЕ
FIT
1:1
100%

Артикул

Название

Примечание

Количество

|1

20B-70-00011

BOOM ASS'Y

|1

201-70-00010

BOOM ASS'Y

1

BOOM

|1

BOOM

2

07143-10606

BUSHING

3

07145-00060

SEAL

|4

201-70-00050

PIN ASS'Y

4

PIN

5

07020-00675

FITTING

|6

201-70-00100

PIN ASS'Y

6

PIN

7

07020-00675

FITTING

8

01010-31635

BOLT

9

01643-31645

WASHER

|9

01602-01648

WASHER

|10

201-70-00060

PIN ASS'Y

10

PIN

11

07020-00675

FITTING

12

01010-31635

BOLT

13

01643-31645

WASHER

|13

01602-01648

WASHER

16

201-70-11231

PIN

17

01010-31635

BOLT

18

01643-31645

WASHER

|19

201-70-00021

ARM ASS'Y

19

ARM

20

07143-10606

BUSHING

20A

07143-10505

BUSHING

|21

201-70-00070

PIN ASS'Y

21

PIN

22

07020-00000

FITTING

23

01010-31635

BOLT

24

01643-31645

WASHER

25

07145-00060

SEAL

26

201-70-11190

PIN

27

01010-31635

BOLT

28

01643-31645

WASHER

29

201-70-11210

PIN

30

01010-31635

BOLT

31

01643-31645

WASHER

|32

201-70-00032

LINK ASS'Y

|32

201-70-00031

LINK ASS'Y

|32

201-70-00030

LINK ASS'Y

32

LINK

|32

LINK

|32

LINK

33

07143-10505

BUSHING

|33

201-70-11530

BUSHING

34

07145-00050

SEAL,DUST

35

201-70-11161

LINK

|35

201-70-11160

LINK

|36

201-70-00080

PIN ASS'Y

36

PIN

37

07020-00000

FITTING

38

01011-31620

BOLT

39

01580-01613

NUT

40

01010-31640

BOLT

41

01602-01648

WASHER

42

01643-31645

WASHER

43

201-70-11510

SPACER

44

135-70-13251

SPACER¤ 1.6MM

45

201-70-11510

SPACER

Выбрано товаров: 62