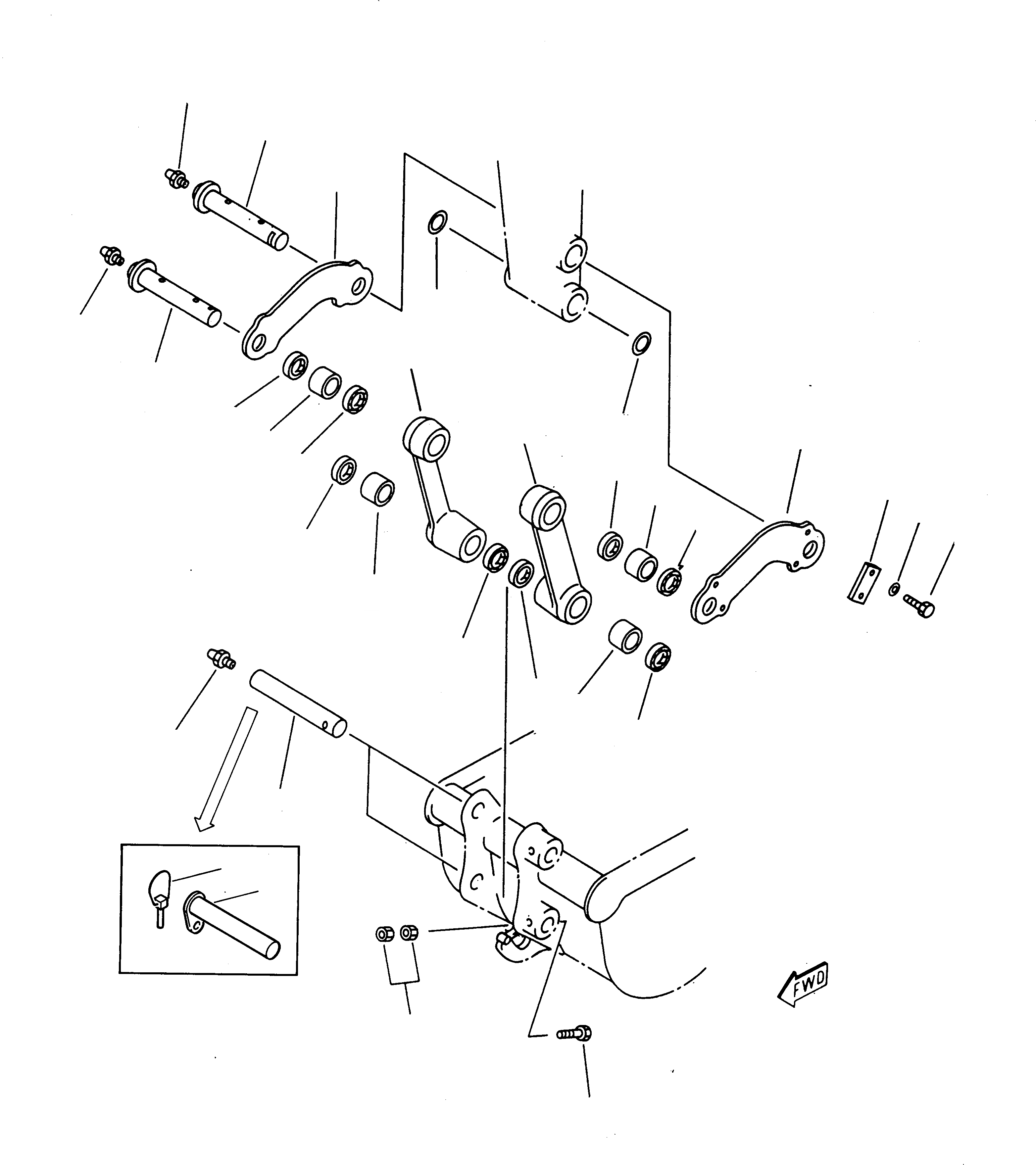
Запчасти Komatsu 212 СОЕДИНЕНИЕ КОВША РАБОЧЕЕ ОБОРУДОВАНИЕ

Схема запчастей Komatsu 212 - СОЕДИНЕНИЕ КОВША РАБОЧЕЕ ОБОРУДОВАНИЕ
5
3
2
12
5
9
4
11
12
9
10
1
11
11
6
10
8
11
7
11
10
11
11
10
11
5
13
16
13
15
14
FIT
1:1
100%

Артикул

Название

Примечание

Количество

1

500119157

LEVER, L.H.

2

500119156

LEVER, R.H.

3

200329057

PIN

4

200329058

PIN

5

860010009

FITTING

6

500014884

PLATE

7

801015108

BOLT

8

802170002

WASHER

9

200703081

LINK

10

500217300

BUSHING

11

855661150

GASKET

12

500256342

SHIM

13

200329059

PIN

13

200329103

PIN

14

801015563

BOLT

15

801920105

NUT

16

802620004

PIN, SAFETY

Выбрано товаров: 17